ГОСТ Р ИСО/ТС 10303-1108-2012 Системы автоматизации производства и их интеграция. Представление данных об изделии и обмен этими данными. Часть 1108. Прикладной модуль. Конфигурация на основе спецификации
ГОСТ Р ИСО/ТС
Скачать ГОСТ в PDF или DOC бесплатно
Основная информация
Обозначение:
ГОСТ Р ИСО/ТС 10303-1108-2012
Статус:
Действует
Тип:
ГОСТ Р ИСО/ТС
Название русское:
Системы автоматизации производства и их интеграция. Представление данных об изделии и обмен этими данными. Часть 1108. Прикладной модуль. Конфигурация на основе спецификации
Название английское:
Industrial automation systems and integration. Product data representation and exchange. Part 1108. Application module: Specification based configuration
Даты и сроки
Дата издания:
05-20-20
Дата введения в действие:
09-01-13
Дата завершения срока действия:
-
Применение и описание
Область и условия применения:
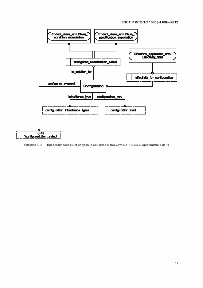
Настоящий стандарт определяет прикладной модуль «Конфигурация на основе спецификации». Требования настоящего стандарта распространяются на: формализацию варианта использования данных об изделии или процессе с помощью булевых комбинаций характеристик изделия, формализацию варианта проектирования данных об изделии или процессе с помощью булевых комбинаций характеристик изделия, задание применяемости на основе календаря для варианта использования, задание варианта использования для экземпляра детали
Связи и замены
Заменяющий:
-
Описание стандарта
ГОСТ Р ИСО/ТС 10303-1108-2012 Системы автоматизации производства и их интеграция. Представление данных об изделии и обмен этими данными. Часть 1108. Прикладной модуль. Конфигурация на основе спецификации
Страницы стандарта



























