ГОСТ Р ИСО/ТС 10303-1166-2013 Системы автоматизации производства и их интеграция. Представление данных об изделии и обмен этими данными. Часть 1166. Прикладной модуль. Состав отдельного изделия
ГОСТ Р ИСО/ТС
Скачать ГОСТ в PDF или DOC бесплатно
Основная информация
Обозначение:
ГОСТ Р ИСО/ТС 10303-1166-2013
Статус:
Действует
Тип:
ГОСТ Р ИСО/ТС
Название русское:
Системы автоматизации производства и их интеграция. Представление данных об изделии и обмен этими данными. Часть 1166. Прикладной модуль. Состав отдельного изделия
Название английское:
Industrial automation systems and integration. Product data representation and exchange. Part 1166. Application module. Composition of individual product
Даты и сроки
Дата издания:
01-25-19
Дата введения в действие:
08-01-14
Дата завершения срока действия:
-
Применение и описание
Область и условия применения:
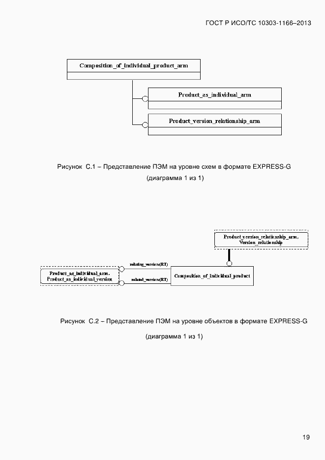
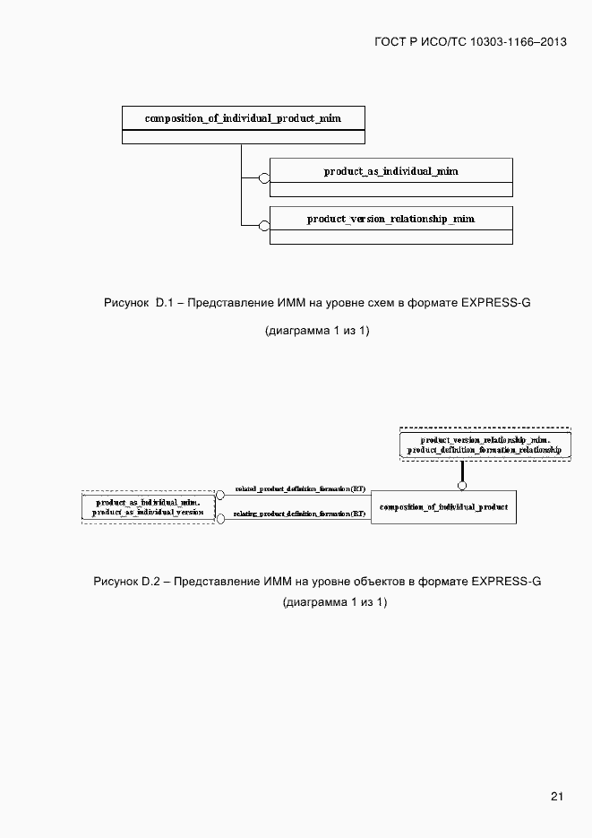
Настоящий стандарт определяет прикладной модуль «Состав отдельного изделия». Требования настоящего стандарта распространяются на взаимосвязь между двумя отдельными изделиями, которая определяет, что одно из этих изделий является частью другого
Связи и замены
Заменяющий:
-
Описание стандарта
ГОСТ Р ИСО/ТС 10303-1166-2013 Системы автоматизации производства и их интеграция. Представление данных об изделии и обмен этими данными. Часть 1166. Прикладной модуль. Состав отдельного изделия
Страницы стандарта































