ГОСТ Р ИСО/ТС 10303-1167-2013 Системы автоматизации производства и их интеграция. Представление данных об изделии и обмен этими данными. Часть 1167. Прикладной модуль. Соединение отдельных изделий
ГОСТ Р ИСО/ТС
Скачать ГОСТ в PDF или DOC бесплатно
Основная информация
Обозначение:
ГОСТ Р ИСО/ТС 10303-1167-2013
Статус:
Действует
Тип:
ГОСТ Р ИСО/ТС
Название русское:
Системы автоматизации производства и их интеграция. Представление данных об изделии и обмен этими данными. Часть 1167. Прикладной модуль. Соединение отдельных изделий
Название английское:
Industrial automation systems and integration. Product data representation and exchange. Part 1167. Application module. Connection of individual product
Даты и сроки
Дата издания:
02-08-19
Дата введения в действие:
08-01-14
Дата завершения срока действия:
-
Применение и описание
Область и условия применения:
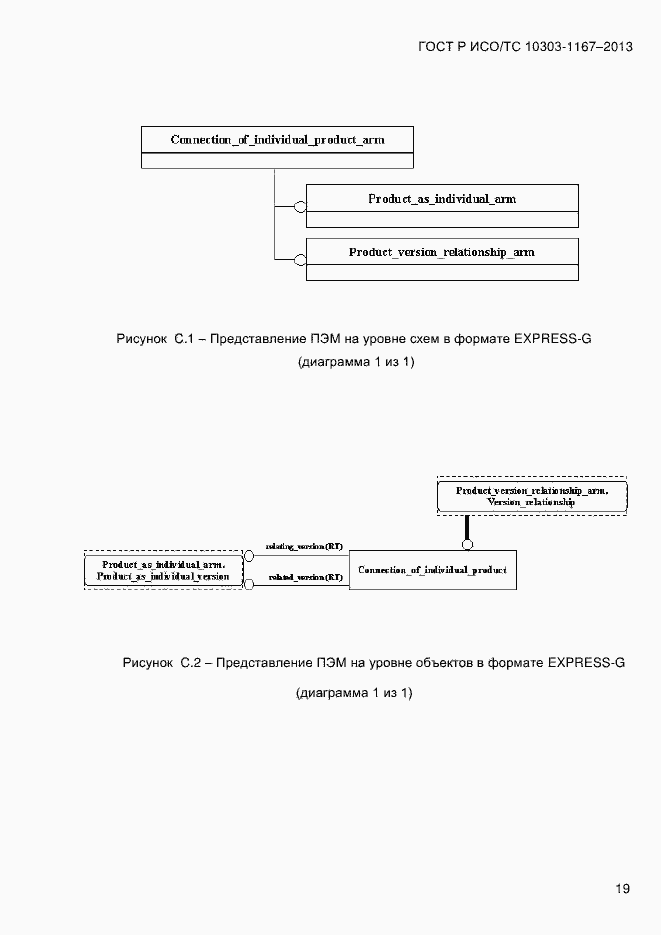
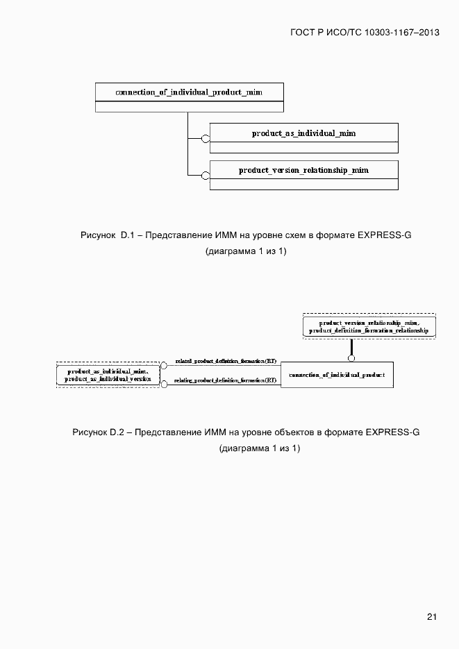
Настоящий стандарт определяет прикладной модуль «Соединение отдельных изделий». Требования настоящего стандарта распространяются на взаимосвязь между двумя отдельными изделиями, которая определяет, что одно из этих изделий соединено с другим. Требования настоящего стандарта не распространяются на: - класс соединения изделий; - классификацию взаимосвязи типа «соединение» между изделиями; - отдельные изделия, образующие соединение; - взаимосвязь типа «соединение» между действиями
Связи и замены
Заменяющий:
-
Описание стандарта
ГОСТ Р ИСО/ТС 10303-1167-2013 Системы автоматизации производства и их интеграция. Представление данных об изделии и обмен этими данными. Часть 1167. Прикладной модуль. Соединение отдельных изделий
Страницы стандарта































