ГОСТ Р ИСО/ТС 10303-1233-2014 Системы автоматизации производства и их интеграция. Представление данных об изделии и обмен этими данными. Часть 1233. Прикладной модуль. Задание требования
ГОСТ Р ИСО/ТС
Скачать ГОСТ в PDF или DOC бесплатно
Основная информация
Обозначение:
ГОСТ Р ИСО/ТС 10303-1233-2014
Статус:
Действует
Тип:
ГОСТ Р ИСО/ТС
Название русское:
Системы автоматизации производства и их интеграция. Представление данных об изделии и обмен этими данными. Часть 1233. Прикладной модуль. Задание требования
Название английское:
Industrial automation systems and integration. Product data representation and exchange. Part 1233. Application module. Requirement assignment
Даты и сроки
Дата издания:
04-21-20
Дата введения в действие:
08-01-15
Дата завершения срока действия:
-
Применение и описание
Область и условия применения:
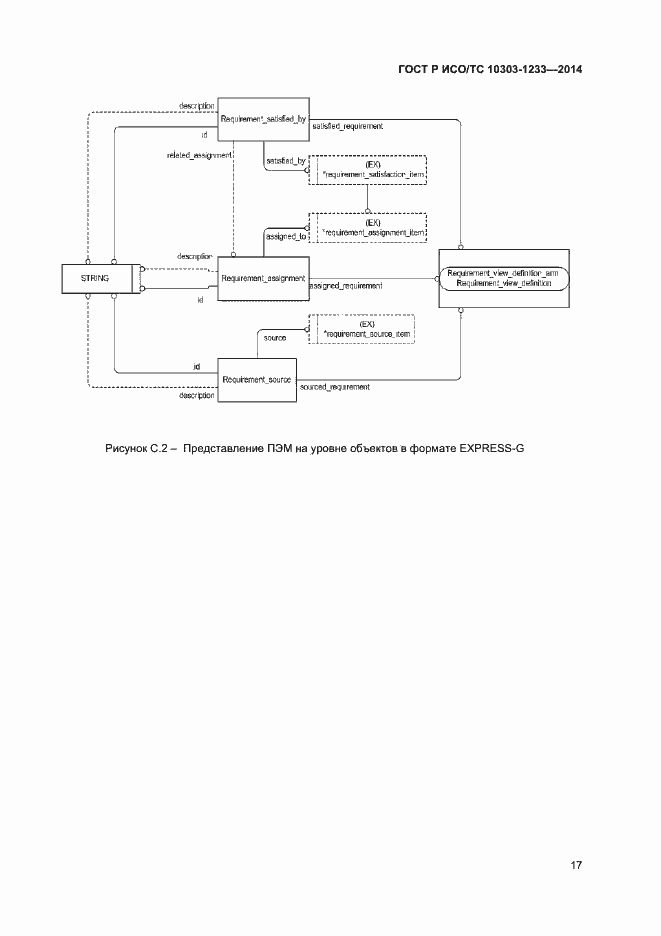
Настоящий стандарт определяет прикладной модуль «Задание требования». В область применения настоящего стандарта входят: - задание требования к изделию или иному объекту; - обозначение источника требования; - положения, относящиеся к области применения прикладного модуля ИСО/TС 10303-1141 «Определение точки зрения на требование». В область применения настоящего стандарта не входит описание и структура определения требования
Связи и замены
Заменяющий:
-
Описание стандарта
ГОСТ Р ИСО/ТС 10303-1233-2014 Системы автоматизации производства и их интеграция. Представление данных об изделии и обмен этими данными. Часть 1233. Прикладной модуль. Задание требования
Страницы стандарта


























