ГОСТ Р ИСО/ТС 10303-1240-2015 Системы автоматизации производства и их интеграция. Представление данных об изделии и обмен этими данными. Часть 1240. Прикладной модуль. Тип организации
ГОСТ Р ИСО/ТС
Скачать ГОСТ в PDF или DOC бесплатно
Основная информация
Обозначение:
ГОСТ Р ИСО/ТС 10303-1240-2015
Статус:
Действует
Тип:
ГОСТ Р ИСО/ТС
Название русское:
Системы автоматизации производства и их интеграция. Представление данных об изделии и обмен этими данными. Часть 1240. Прикладной модуль. Тип организации
Название английское:
Industrial automation systems and integration. Product data representation and exchange. Part 1240. Application module. Organization type
Даты и сроки
Дата издания:
02-04-19
Дата введения в действие:
11-01-16
Дата завершения срока действия:
-
Применение и описание
Область и условия применения:
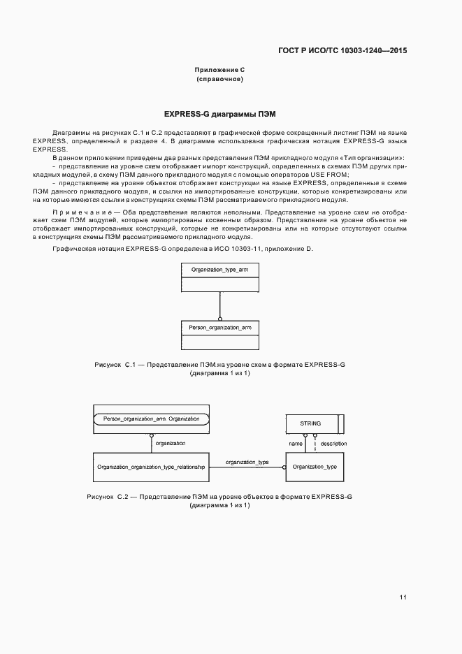
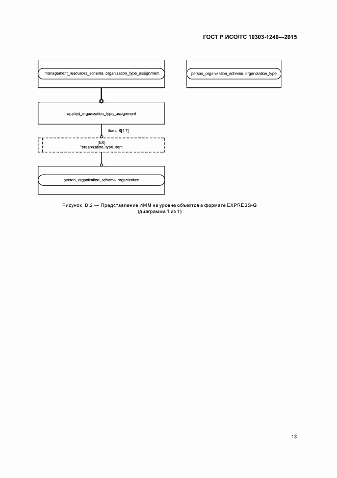
Настоящий стандарт определяет прикладной модуль «Тип организации». Требования настоящего стандарта распространяются на определение типа организации
Связи и замены
Заменяющий:
-
Описание стандарта
ГОСТ Р ИСО/ТС 10303-1240-2015 Системы автоматизации производства и их интеграция. Представление данных об изделии и обмен этими данными. Часть 1240. Прикладной модуль. Тип организации
Страницы стандарта



















