ГОСТ Р ИСО/ТС 10303-1241-2015 Системы автоматизации производства и их интеграция. Представление данных об изделии и обмен этими данными. Часть 1241. Прикладной модуль. Права на информацию
ГОСТ Р ИСО/ТС
Скачать ГОСТ в PDF или DOC бесплатно
Основная информация
Обозначение:
ГОСТ Р ИСО/ТС 10303-1241-2015
Статус:
Действует
Тип:
ГОСТ Р ИСО/ТС
Название русское:
Системы автоматизации производства и их интеграция. Представление данных об изделии и обмен этими данными. Часть 1241. Прикладной модуль. Права на информацию
Название английское:
Industrial automation systems and integration. Product data representation and exchange. Part 1241. Application module. Information rights
Даты и сроки
Дата издания:
04-27-20
Дата введения в действие:
11-01-16
Дата завершения срока действия:
-
Применение и описание
Область и условия применения:
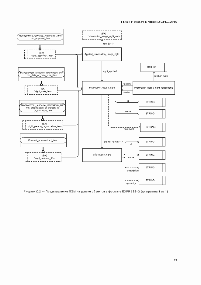
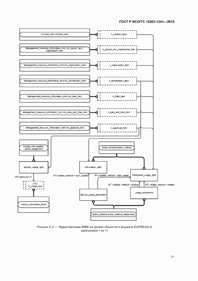
Настоящий стандарт определяет прикладной модуль «Права на информацию»
Связи и замены
Заменяющий:
-
Описание стандарта
ГОСТ Р ИСО/ТС 10303-1241-2015 Системы автоматизации производства и их интеграция. Представление данных об изделии и обмен этими данными. Часть 1241. Прикладной модуль. Права на информацию
Страницы стандарта






























