ГОСТ Р ИСО/ТС 10303-1264-2014 Системы автоматизации производства и их интеграция. Представление данных об изделии и обмен этими данными. Часть 1264. Прикладной модуль. Риск
ГОСТ Р ИСО/ТС
Скачать ГОСТ в PDF или DOC бесплатно
Основная информация
Обозначение:
ГОСТ Р ИСО/ТС 10303-1264-2014
Статус:
Действует
Тип:
ГОСТ Р ИСО/ТС
Название русское:
Системы автоматизации производства и их интеграция. Представление данных об изделии и обмен этими данными. Часть 1264. Прикладной модуль. Риск
Название английское:
Industrial automation systems and integration. Product data representation and exchange. Part 1264. Application module. Risk
Даты и сроки
Дата издания:
05-18-20
Дата введения в действие:
08-01-15
Дата завершения срока действия:
-
Применение и описание
Область и условия применения:
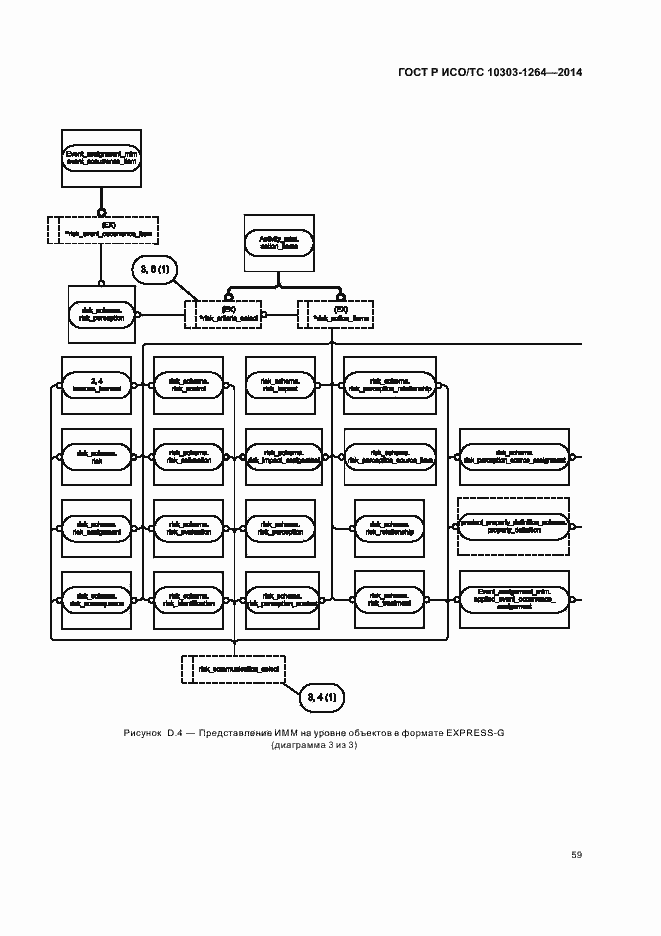
Настоящий стандарт определяет прикладной модуль «Риск»
Связи и замены
Заменяющий:
-
Описание стандарта
ГОСТ Р ИСО/ТС 10303-1264-2014 Системы автоматизации производства и их интеграция. Представление данных об изделии и обмен этими данными. Часть 1264. Прикладной модуль. Риск
Страницы стандарта





































































