ГОСТ Р ИСО/ТС 10303-1272-2012 Системы автоматизации производства и их интеграция. Представление данных об изделии и обмен этими данными. Часть 1272. Прикладной модуль. Задание параметров и классификация действий
ГОСТ Р ИСО/ТС
Скачать ГОСТ в PDF или DOC бесплатно
Основная информация
Обозначение:
ГОСТ Р ИСО/ТС 10303-1272-2012
Статус:
Действует
Тип:
ГОСТ Р ИСО/ТС
Название русское:
Системы автоматизации производства и их интеграция. Представление данных об изделии и обмен этими данными. Часть 1272. Прикладной модуль. Задание параметров и классификация действий
Название английское:
Industrial automation systems and their integration. Product data representation and exchange. Part 1272. Application module. Application module. Activity characterized
Даты и сроки
Дата издания:
06-25-20
Дата введения в действие:
07-01-13
Дата завершения срока действия:
-
Применение и описание
Область и условия применения:
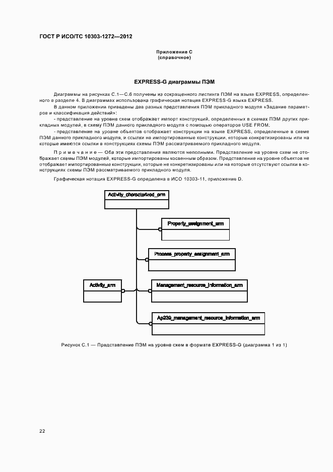
Требования настоящего стандарта распространяются на: - спецификацию определений, необходимых для задания информации о ресурсах управления для действия или класса действий; - спецификацию определений, необходимых для классификации действий; - классификацию действий
Связи и замены
Заменяющий:
-
Описание стандарта
ГОСТ Р ИСО/ТС 10303-1272-2012 Системы автоматизации производства и их интеграция. Представление данных об изделии и обмен этими данными. Часть 1272. Прикладной модуль. Задание параметров и классификация действий
Страницы стандарта







































