ГОСТ Р ИСО/ТС 10303-1290-2014 Системы автоматизации производства и их интеграция. Представление данных об изделии и обмен этими данными. Часть 1290. Прикладной модуль. Управление документами
ГОСТ Р ИСО/ТС
Скачать ГОСТ в PDF или DOC бесплатно
Основная информация
Обозначение:
ГОСТ Р ИСО/ТС 10303-1290-2014
Статус:
Заменен
Тип:
ГОСТ Р ИСО/ТС
Название русское:
Системы автоматизации производства и их интеграция. Представление данных об изделии и обмен этими данными. Часть 1290. Прикладной модуль. Управление документами
Название английское:
Industrial automation systems and integration. Product data representation and exchange. Part 1290. Application module. Document management
Даты и сроки
Дата издания:
07-14-20
Дата введения в действие:
08-01-15
Дата завершения срока действия:
-
Применение и описание
Область и условия применения:
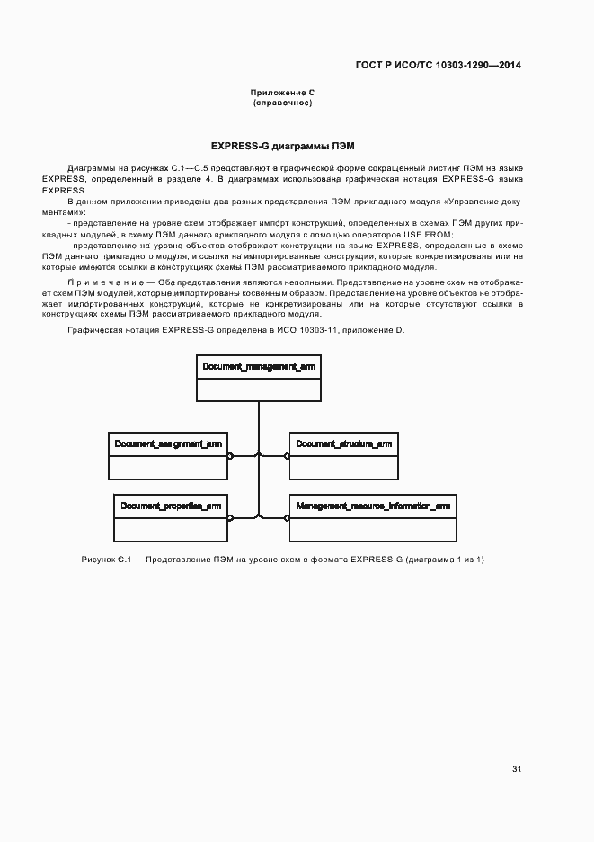
Настоящий стандарт определяет прикладной модуль «Управление документами»
Связи и замены
Заменяющий:
-
Описание стандарта
ГОСТ Р ИСО/ТС 10303-1290-2014 Системы автоматизации производства и их интеграция. Представление данных об изделии и обмен этими данными. Часть 1290. Прикладной модуль. Управление документами
Страницы стандарта
















































