ГОСТ Р ИСО/ТС 10303-1786-2015 Системы автоматизации производства и их интеграция. Представление данных об изделии и обмен этими данными. Часть 1786. Прикладной модуль. Определение риска
ГОСТ Р ИСО/ТС
Скачать ГОСТ в PDF или DOC бесплатно
Основная информация
Обозначение:
ГОСТ Р ИСО/ТС 10303-1786-2015
Статус:
Действует
Тип:
ГОСТ Р ИСО/ТС
Название русское:
Системы автоматизации производства и их интеграция. Представление данных об изделии и обмен этими данными. Часть 1786. Прикладной модуль. Определение риска
Название английское:
Industrial automation systems and integration. Product data representation and exchange. Part 1786. Application module. Risk definition
Даты и сроки
Дата издания:
06-16-20
Дата введения в действие:
10-01-16
Дата завершения срока действия:
-
Применение и описание
Область и условия применения:
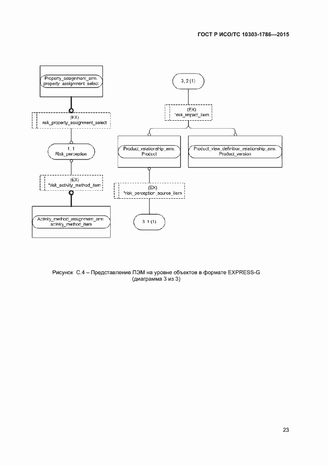
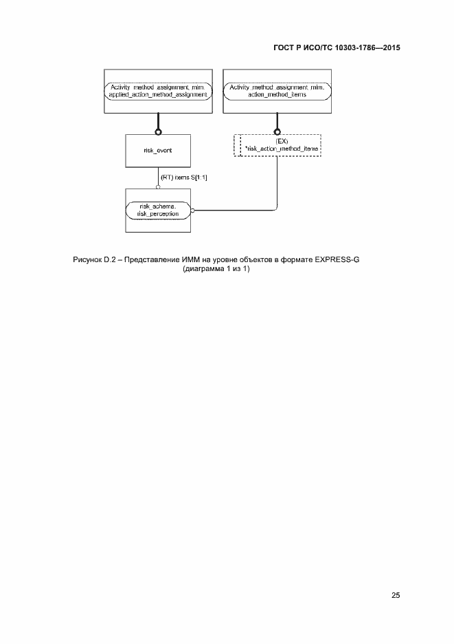
Настоящий стандарт определяет прикладной модуль «Определение риска». Требования настоящего стандарта распространяются на: - идентификацию риска и взаимосвязь между рисками; - понимание риска и взаимосвязь между предполагаемыми рисками; - вероятность или правдоподобие риска; - воздействие или последствие риска; - источник идентификации риска
Связи и замены
Заменяющий:
-
Описание стандарта
ГОСТ Р ИСО/ТС 10303-1786-2015 Системы автоматизации производства и их интеграция. Представление данных об изделии и обмен этими данными. Часть 1786. Прикладной модуль. Определение риска
Страницы стандарта


































