ГОСТ Р ИСО 10303-506-2006 Системы автоматизации производства и их интеграция. Представление данных об изделии и обмен этими данными. Часть 506. Прикладные интерпретированные конструкции. Чертежные элементы
ГОСТ Р ИСО
Скачать ГОСТ в PDF или DOC бесплатно
Основная информация
Обозначение:
ГОСТ Р ИСО 10303-506-2006
Статус:
Заменен
Тип:
ГОСТ Р ИСО
Название русское:
Системы автоматизации производства и их интеграция. Представление данных об изделии и обмен этими данными. Часть 506. Прикладные интерпретированные конструкции. Чертежные элементы
Название английское:
Industrial automation systems and integration. Product data representation and exchange. Part 506. Application interpreted constructions. Draughting elements
Даты и сроки
Дата издания:
08-01-08
Дата введения в действие:
07-01-07
Дата завершения срока действия:
01-01-18
Применение и описание
Область и условия применения:
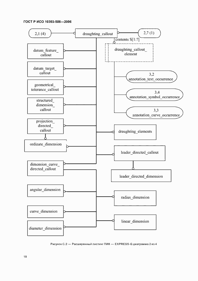
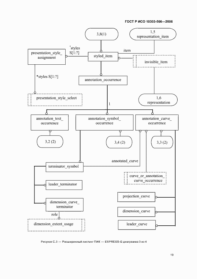
Настоящий стандарт определяет интерпретацию интегрированных ресурсов, обеспечивающую соответствие требованиям к определению пояснений на чертеже, которые представляют собой размеры и выноски, проставляемые прикладной программой, создающей чертеж. Область применения настоящего стандарта распространяется на: - структуры для представления одиночных или составных размеров; - структуры для представления структурированных или неструктурированных размеров; - структуры для представления выносок на чертеже, которые могут изображаться посредством направленных линий, выносных линий или размерных линий. Область применения настоящего стандарта не распространяется на пояснения, которые не используются для представления размеров или выносок на чертеже
Связи и замены
Заменяющий:
ГОСТ Р ИСО 10303-506-2016
Описание стандарта
ГОСТ Р ИСО 10303-506-2006 Системы автоматизации производства и их интеграция. Представление данных об изделии и обмен этими данными. Часть 506. Прикладные интерпретированные конструкции. Чертежные элементы
Страницы стандарта



























