ГОСТ Р ИСО/ТС 10303-1304-2019 Системы автоматизации производства и их интеграция. Представление данных об изделии и обмен этими данными. Часть 1304. Прикладной модуль. Регистрация состояния изделия по прикладному протоколу ПП239
ГОСТ Р ИСО/ТС
Скачать ГОСТ в PDF или DOC бесплатно
Основная информация
Обозначение:
ГОСТ Р ИСО/ТС 10303-1304-2019
Статус:
Действует
Тип:
ГОСТ Р ИСО/ТС
Название русское:
Системы автоматизации производства и их интеграция. Представление данных об изделии и обмен этими данными. Часть 1304. Прикладной модуль. Регистрация состояния изделия по прикладному протоколу ПП239
Название английское:
Industrial automation systems and integration. Product data representation and exchange. Part 1304. Application module. AP239 product status recording
Даты и сроки
Дата издания:
10-15-19
Дата введения в действие:
10-01-20
Дата завершения срока действия:
-
Применение и описание
Область и условия применения:
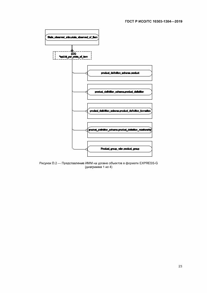
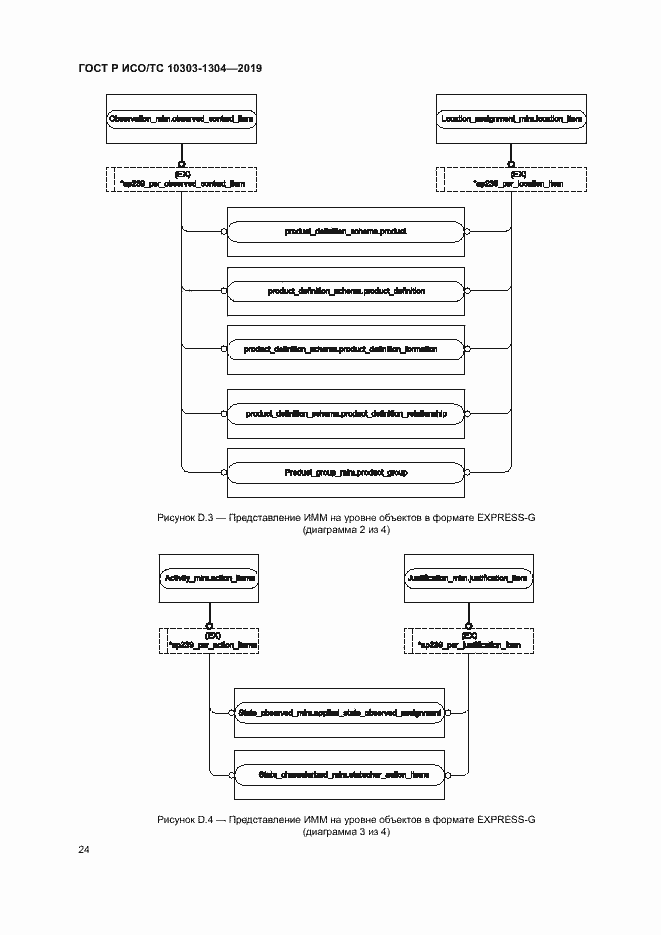
Настоящий стандарт определяет прикладной модуль «Регистрация состояния изделия по прикладному протоколу ПП239». Требования настоящего стандарта распространяются: - на задание наблюдаемого состояния для идентифицированного изделия или группы изделий; - задание наблюдаемого состояния для соединения, интерфейса или другой взаимосвязи между двумя изделиями; - установление связи между действием и заданием наблюдаемого состояния; - задание обоснования для наблюдаемого состояния; - задание местоположения для изделия или группы изделий; - задание действия для оценки наблюдаемого состояния; - включение изделия или группы изделий в контекстную среду наблюдения; - связь перевода наблюдения на конкретный язык с результатом наблюдения. Настоящий стандарт не распространяется: - на задание характеристики для идентифицированного состояния или индивидуального состояния; - регистрацию перехода данных об изделии в конкретное состояние как события; - регистрацию использования изделия; - регистрацию состояния действий
Связи и замены
Заменяющий:
-
Взамен:
ГОСТ Р ИСО/ТС 10303-1304-2012
Описание стандарта
ГОСТ Р ИСО/ТС 10303-1304-2019 Системы автоматизации производства и их интеграция. Представление данных об изделии и обмен этими данными. Часть 1304. Прикладной модуль. Регистрация состояния изделия по прикладному протоколу ПП239
Страницы стандарта


































