ГОСТ 12194-66 Приспособления станочные. Призмы установочные. Конструкция
ГОСТ
Скачать ГОСТ в PDF или DOC бесплатно
Основная информация
Обозначение:
ГОСТ 12194-66
Статус:
Действует
Тип:
ГОСТ
Название русское:
Приспособления станочные. Призмы установочные. Конструкция
Название английское:
Holding devices. Adjusting prisms. Design
Даты и сроки
Дата издания:
07-01-90
Дата введения в действие:
06-30-67
Дата завершения срока действия:
-
Применение и описание
Область и условия применения:
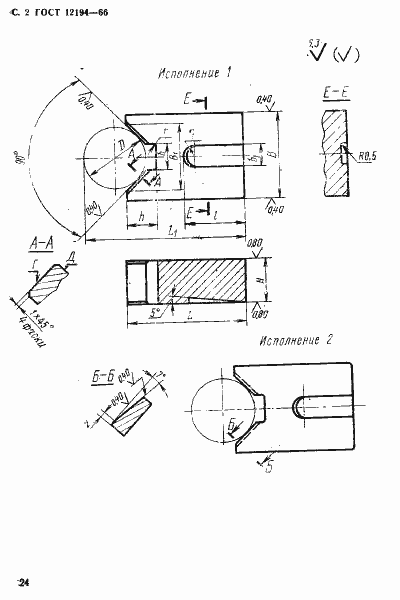
Настоящий стандарт распространяется на конструкцию и размеры установочных призм
Связи и замены
Заменяющий:
-
Взамен:
МН 343-60
Изменения и переиздания
Список изменений:
№1 от (рег. ) «Срок действия продлен» №2 от (рег. ) «Поправка»
Описание стандарта
ГОСТ 12194-66 Приспособления станочные. Призмы установочные. Конструкция
Страницы стандарта





