ГОСТы >
25.060.20 Делительные головки и зажимные приспособления для обрабатываемых деталей и инструментов >
ГОСТ 13159-67
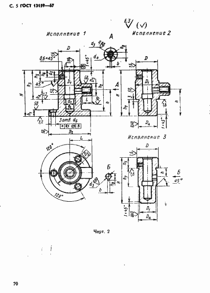
ГОСТ 13159-67 Опоры самоустанавливающиеся для станочных приспособлений. Конструкция
ГОСТ
Скачать ГОСТ в PDF или DOC бесплатно
Основная информация
Обозначение:
ГОСТ 13159-67
Статус:
Действует
Тип:
ГОСТ
Название русское:
Опоры самоустанавливающиеся для станочных приспособлений. Конструкция
Название английское:
Djustable jacks for machine retaining devices. Design and dimensions
Даты и сроки
Дата издания:
05-01-90
Дата введения в действие:
06-30-68
Дата завершения срока действия:
-
Применение и описание
Область и условия применения:
Настоящий стандарт распространяется на самоустанавливающиеся опоры, которые являются вспомогательно-установочными и предназначены для увеличения жесткости детали и для сообщения ей большей устойчивости при обработке
Связи и замены
Заменяющий:
-
Взамен:
МН 351-60
Изменения и переиздания
Список изменений:
№1 от (рег. ) «Срок действия продлен» №2 от (рег. ) «Поправка»
Описание стандарта
ГОСТ 13159-67 Опоры самоустанавливающиеся для станочных приспособлений. Конструкция
Страницы стандарта











