ГОСТы >
25.060.20 Делительные головки и зажимные приспособления для обрабатываемых деталей и инструментов >
ГОСТ 13161-67
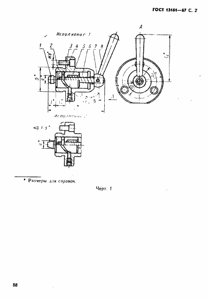
ГОСТ 13161-67 Фиксаторы байонетные для станочных приспособлений. Конструкция
ГОСТ
Скачать ГОСТ в PDF или DOC бесплатно
Основная информация
Обозначение:
ГОСТ 13161-67
Статус:
Действует
Тип:
ГОСТ
Название русское:
Фиксаторы байонетные для станочных приспособлений. Конструкция
Название английское:
Bayonet type indexes for machine retaining devices. Design and dimensions
Даты и сроки
Дата издания:
05-01-90
Дата введения в действие:
06-30-68
Дата завершения срока действия:
-
Применение и описание
Область и условия применения:
Настоящий стандарт распространяется на байонетные фиксаторы, предназначенные для применения в делительных приспособлениях
Связи и замены
Заменяющий:
-
Взамен:
МН 354-60
Изменения и переиздания
Список изменений:
№1 от (рег. ) «Срок действия продлен» №2 от (рег. ) «Поправка»
Описание стандарта
ГОСТ 13161-67 Фиксаторы байонетные для станочных приспособлений. Конструкция
Страницы стандарта









