ГОСТы >
25.060.20 Делительные головки и зажимные приспособления для обрабатываемых деталей и инструментов >
ГОСТ 13895-75
ГОСТ 13895-75 Крепления резцов в оправках и борштангах. Конструкция и размеры
ГОСТ
Скачать ГОСТ в PDF или DOC бесплатно
Основная информация
Обозначение:
ГОСТ 13895-75
Статус:
Действует
Тип:
ГОСТ
Название русское:
Крепления резцов в оправках и борштангах. Конструкция и размеры
Название английское:
Fixing of cutters on tool holders and boring bars. Design and dimensions
Даты и сроки
Дата издания:
10-17-75
Дата введения в действие:
01-01-77
Дата завершения срока действия:
-
Применение и описание
Область и условия применения:
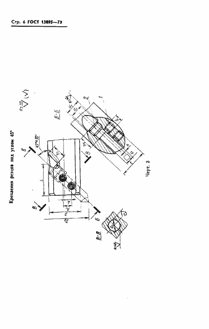
Настоящий стандарт распространяется на крепления резцов под углами 90, 60 и 45 градусов в оправках и борштангах
Связи и замены
Заменяющий:
-
Взамен:
ГОСТ 13895-68
Изменения и переиздания
Список изменений:
№1 от (рег. ) «Срок действия продлен»
Описание стандарта
ГОСТ 13895-75 Крепления резцов в оправках и борштангах. Конструкция и размеры
Страницы стандарта












