ГОСТы >
25.060.20 Делительные головки и зажимные приспособления для обрабатываемых деталей и инструментов >
ГОСТ 15067-75
ГОСТ 15067-75 Оправки с цилиндрической цапфой и хвостовиком конусностью 7:24 для горизонтально-фрезерных станков. Конструкция и размеры
ГОСТ
Скачать ГОСТ в PDF или DOC бесплатно
Основная информация
Обозначение:
ГОСТ 15067-75
Статус:
Действует
Тип:
ГОСТ
Название русское:
Оправки с цилиндрической цапфой и хвостовиком конусностью 7:24 для горизонтально-фрезерных станков. Конструкция и размеры
Название английское:
Tool holders with straight guide and 7:24 taper shank for horisontal milling machines. Design and dimensions
Даты и сроки
Дата издания:
01-21-76
Дата введения в действие:
01-01-77
Дата завершения срока действия:
-
Применение и описание
Область и условия применения:
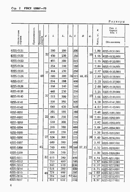
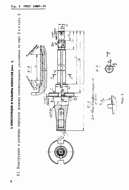
Настоящий стандарт устанавливает конструкцию и размеры оправок с цилиндрической цапфой и хвостовиком для горизонтально-фрезерных станков
Связи и замены
Заменяющий:
-
Взамен:
ГОСТ 15067-69
Изменения и переиздания
Список изменений:
№1 от (рег. ) «Срок действия продлен»
Описание стандарта
ГОСТ 15067-75 Оправки с цилиндрической цапфой и хвостовиком конусностью 7:24 для горизонтально-фрезерных станков. Конструкция и размеры
Страницы стандарта














