ГОСТы >
25.060.20 Делительные головки и зажимные приспособления для обрабатываемых деталей и инструментов >
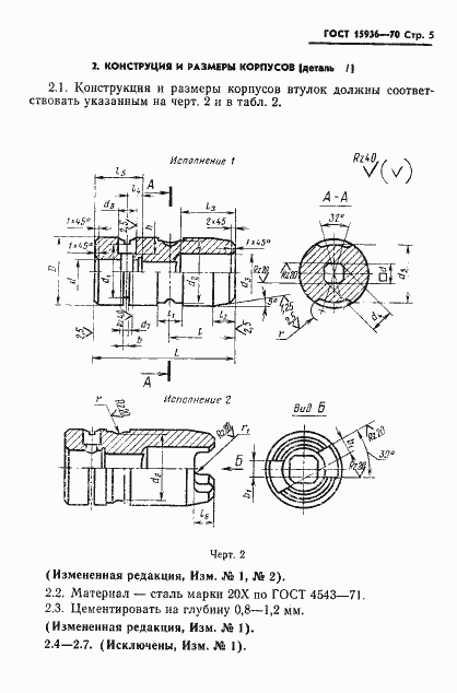
ГОСТ 15936-70
ГОСТ 15936-70 Втулки переходные быстросменные жесткие для метчиков. Конструкция и размеры
ГОСТ
Скачать ГОСТ в PDF или DOC бесплатно
Основная информация
Обозначение:
ГОСТ 15936-70
Статус:
Действует
Тип:
ГОСТ
Название русское:
Втулки переходные быстросменные жесткие для метчиков. Конструкция и размеры
Название английское:
Quick-changing stiff adapters for taps. Design and dimensions
Даты и сроки
Дата издания:
06-01-81
Дата введения в действие:
01-01-71
Дата завершения срока действия:
-
Применение и описание
Область и условия применения:
Настоящий стандарт распространяется на переходные быстросменные жесткие втулки для быстросменного инструмента при нарезании резьб машинно-ручными метчиками
Связи и замены
Заменяющий:
-
Взамен:
МН 5748-65
Изменения и переиздания
Список изменений:
№1 от (рег. ) «Срок действия продлен» №2 от (рег. ) «Срок действия продлен»
Описание стандарта
ГОСТ 15936-70 Втулки переходные быстросменные жесткие для метчиков. Конструкция и размеры
Страницы стандарта











