ГОСТ 16897-71 Опоры призматические. Конструкция
ГОСТ
Скачать ГОСТ в PDF или DOC бесплатно
Основная информация
Обозначение:
ГОСТ 16897-71
Статус:
Действует
Тип:
ГОСТ
Название русское:
Опоры призматические. Конструкция
Название английское:
Blade bearers. Design
Даты и сроки
Дата издания:
05-01-91
Дата введения в действие:
06-30-72
Дата завершения срока действия:
-
Применение и описание
Область и условия применения:
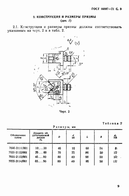
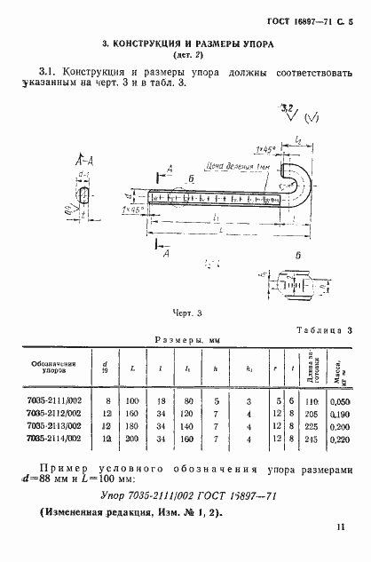
Настоящий стандарт устанавливает конструкцию и размеры призматических опор
Связи и замены
Заменяющий:
-
Взамен:
МН 3242-62
Изменения и переиздания
Список изменений:
№1 от (рег. ) «Срок действия продлен» №2 от (рег. ) «Поправка»
Описание стандарта
ГОСТ 16897-71 Опоры призматические. Конструкция
Страницы стандарта






