ГОСТы >
25.060.20 Делительные головки и зажимные приспособления для обрабатываемых деталей и инструментов >
ГОСТ 17186-71
ГОСТ 17186-71 Втулки зажимные с буртиком и наклонно расположенным цилиндрическим отверстием к токарно-револьверным станкам. Конструкция и размеры
ГОСТ
Скачать ГОСТ в PDF или DOC бесплатно
Основная информация
Обозначение:
ГОСТ 17186-71
Статус:
Действует
Тип:
ГОСТ
Название русское:
Втулки зажимные с буртиком и наклонно расположенным цилиндрическим отверстием к токарно-револьверным станкам. Конструкция и размеры
Название английское:
Turret lathe collets with rib and inclined hole. Design and dimensions
Даты и сроки
Дата издания:
12-01-81
Дата введения в действие:
01-01-73
Дата завершения срока действия:
-
Применение и описание
Область и условия применения:
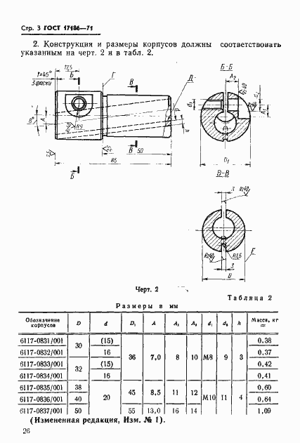
Настоящий стандарт устанавливает конструкцию и размеры втулок к токарно-револьверным станкам
Связи и замены
Заменяющий:
-
Взамен:
МН 1015-60
Изменения и переиздания
Список изменений:
№1 от (рег. ) «Срок действия продлен»
Описание стандарта
ГОСТ 17186-71 Втулки зажимные с буртиком и наклонно расположенным цилиндрическим отверстием к токарно-револьверным станкам. Конструкция и размеры
Страницы стандарта




