ГОСТы >
25.060.20 Делительные головки и зажимные приспособления для обрабатываемых деталей и инструментов >
ГОСТ 18071-72
ГОСТ 18071-72 Державки сменные для прямого крепления резцов к токарно-револьверным автоматам. Конструкция и размеры
ГОСТ
Скачать ГОСТ в PDF или DOC бесплатно
Основная информация
Обозначение:
ГОСТ 18071-72
Статус:
Действует
Тип:
ГОСТ
Название русское:
Державки сменные для прямого крепления резцов к токарно-револьверным автоматам. Конструкция и размеры
Название английское:
Changeable arbors for the straigh fixing of cutters for turret automatics. Design and dimensions
Даты и сроки
Дата издания:
06-01-81
Дата введения в действие:
06-30-73
Дата завершения срока действия:
-
Применение и описание
Область и условия применения:
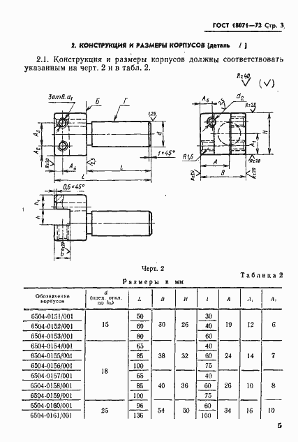
Настоящий стандарт устанавливает конструкцию и размеры державок
Связи и замены
Заменяющий:
-
Взамен:
МН 1212-60
Изменения и переиздания
Список изменений:
№1 от (рег. ) «Срок действия продлен»
Описание стандарта
ГОСТ 18071-72 Державки сменные для прямого крепления резцов к токарно-револьверным автоматам. Конструкция и размеры
Страницы стандарта






