ГОСТы >
25.060.20 Делительные головки и зажимные приспособления для обрабатываемых деталей и инструментов >
ГОСТ 18434-73
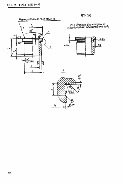
ГОСТ 18434-73 Втулки промежуточные с буртиком. Конструкция и размеры
ГОСТ
Скачать ГОСТ в PDF или DOC бесплатно
Основная информация
Обозначение:
ГОСТ 18434-73
Статус:
Действует
Тип:
ГОСТ
Название русское:
Втулки промежуточные с буртиком. Конструкция и размеры
Название английское:
Collar intermediate bushes. Design and dimensions
Даты и сроки
Дата издания:
04-17-73
Дата введения в действие:
06-30-74
Дата завершения срока действия:
-
Применение и описание
Область и условия применения:
Настоящий стандарт распространяется на промежуточные втулки с буртиком для установки сменных и быстросменных кондукторных втулок по ГОСТ 18431-73 и ГОСТ 18432-73 в приспособления металлорежущих станков, разработанных до 1 января 1986 года
Связи и замены
Заменяющий:
-
Изменения и переиздания
Список изменений:
№1 от (рег. ) «Срок действия продлен» №2 от (рег. ) «Срок действия продлен»
Описание стандарта
ГОСТ 18434-73 Втулки промежуточные с буртиком. Конструкция и размеры
Страницы стандарта











