ГОСТы >
25.060.20 Делительные головки и зажимные приспособления для обрабатываемых деталей и инструментов >
ГОСТ 19023-73
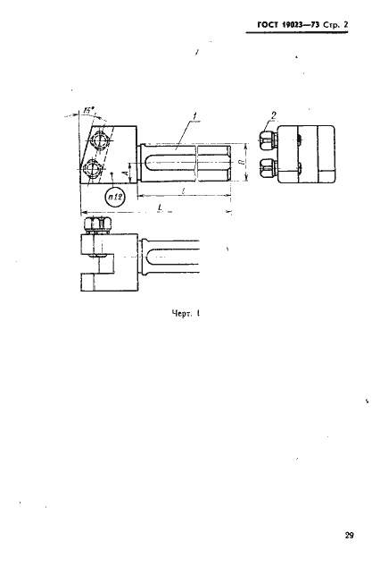
ГОСТ 19023-73 Державки для косого крепления резца к токарно-револьверным станкам. Конструкция и размеры
ГОСТ
Скачать ГОСТ в PDF или DOC бесплатно
Основная информация
Обозначение:
ГОСТ 19023-73
Статус:
Действует
Тип:
ГОСТ
Название русское:
Державки для косого крепления резца к токарно-револьверным станкам. Конструкция и размеры
Название английское:
Holders for an angled fastening of cutting tool for turret-lathes. Design and dimensions
Даты и сроки
Дата издания:
10-01-80
Дата введения в действие:
06-30-74
Дата завершения срока действия:
-
Применение и описание
Область и условия применения:
Настоящий стандарт распространяется на державки, применяемые в многогнездных стойках токарно-револьверных станков с вертикальной осью вращения револьверной головки
Связи и замены
Заменяющий:
-
Взамен:
МН 1035-60
Изменения и переиздания
Список изменений:
№1 от (рег. ) «Срок действия продлен» №2 от (рег. ) «Срок действия продлен»
Описание стандарта
ГОСТ 19023-73 Державки для косого крепления резца к токарно-револьверным станкам. Конструкция и размеры
Страницы стандарта





