ГОСТы >
25.060.20 Делительные головки и зажимные приспособления для обрабатываемых деталей и инструментов >
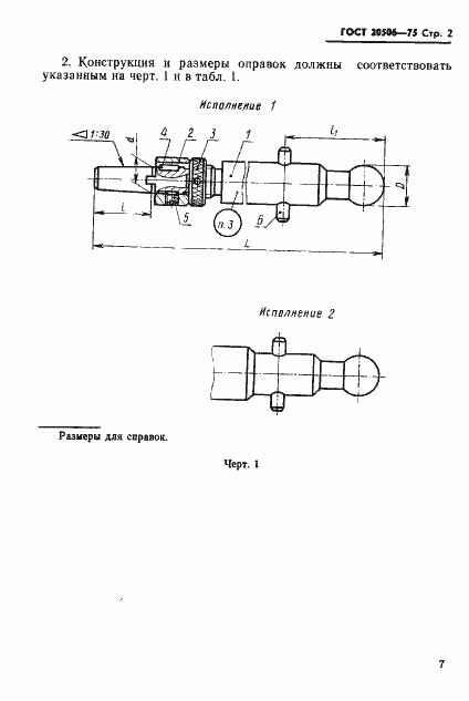
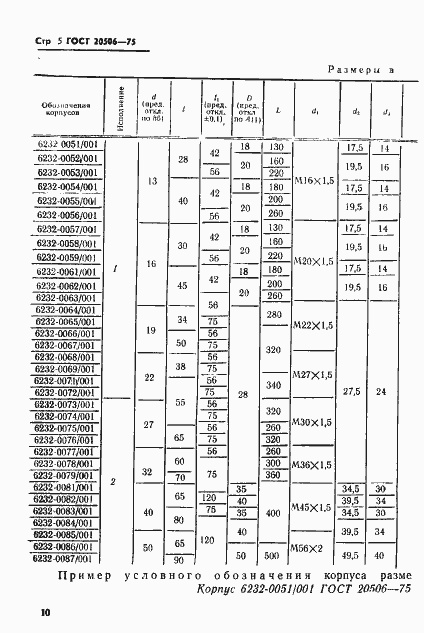
ГОСТ 20506-75
ГОСТ 20506-75 Оправки качающиеся для насадных разверток к токарно-револьверным станкам. Конструкция и размеры
ГОСТ
Скачать ГОСТ в PDF или DOC бесплатно
Основная информация
Обозначение:
ГОСТ 20506-75
Статус:
Действует
Тип:
ГОСТ
Название русское:
Оправки качающиеся для насадных разверток к токарно-револьверным станкам. Конструкция и размеры
Название английское:
Pivoting arbours for shell reamers for turret lathes. Design and dimensions
Даты и сроки
Дата издания:
08-01-81
Дата введения в действие:
01-01-76
Дата завершения срока действия:
-
Применение и описание
Область и условия применения:
Настоящий стандарт распространяется на качающиеся оправки для насадных разверток, устанавливаемые в поводковые патроны токарно-револьверных станков
Связи и замены
Заменяющий:
-
Взамен:
МН 1023-60
Изменения и переиздания
Список изменений:
№1 от (рег. ) «Срок действия продлен»
Описание стандарта
ГОСТ 20506-75 Оправки качающиеся для насадных разверток к токарно-револьверным станкам. Конструкция и размеры
Страницы стандарта










