ГОСТы >
25.060.20 Делительные головки и зажимные приспособления для обрабатываемых деталей и инструментов >
ГОСТ 20507-75
ГОСТ 20507-75 Оправки качающиеся для разверток с коническим хвостовиком к токарно-револьверным станкам. Конструкция и размеры
ГОСТ
Скачать ГОСТ в PDF или DOC бесплатно
Основная информация
Обозначение:
ГОСТ 20507-75
Статус:
Действует
Тип:
ГОСТ
Название русское:
Оправки качающиеся для разверток с коническим хвостовиком к токарно-револьверным станкам. Конструкция и размеры
Название английское:
Pivoting arbours for reamers with a tapered shank for turret lathes. Design and dimensions
Даты и сроки
Дата издания:
08-01-81
Дата введения в действие:
01-01-76
Дата завершения срока действия:
-
Применение и описание
Область и условия применения:
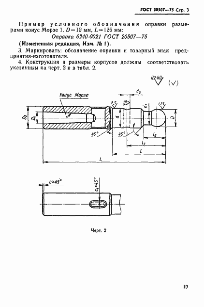
Настоящий стандарт распространяется на качающиеся оправки для разверток с коническим хвостовиком, устанавливаемые в поводковые патроны токарно-револьверных станков
Связи и замены
Заменяющий:
-
Взамен:
МН 1024-60
Изменения и переиздания
Список изменений:
№1 от (рег. ) «Срок действия продлен»
Описание стандарта
ГОСТ 20507-75 Оправки качающиеся для разверток с коническим хвостовиком к токарно-револьверным станкам. Конструкция и размеры
Страницы стандарта




