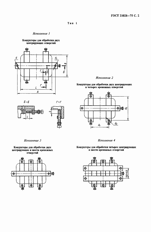
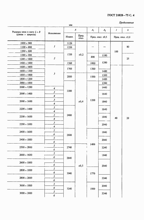
ГОСТ 21028-75 Кондукторы для механической обработки отверстий литейных опок и модельных плит. Технические условия
ГОСТ
Скачать ГОСТ в PDF или DOC бесплатно
Основная информация
Обозначение:
ГОСТ 21028-75
Статус:
Действует
Тип:
ГОСТ
Название русское:
Кондукторы для механической обработки отверстий литейных опок и модельных плит. Технические условия
Название английское:
Jigs for machining holes of moulding boxes and pattern plates. Specifications
Даты и сроки
Дата издания:
07-01-00
Дата введения в действие:
01-01-77
Дата завершения срока действия:
-
Применение и описание
Область и условия применения:
Настоящий стандарт распространяется на кондукторы для механической обработки отверстий литейных опок, применяемые при изготовлении песчаных литейных форм
Связи и замены
Заменяющий:
-
Взамен:
МН 3895-62
Изменения и переиздания
Список изменений:
№1 от (рег. ) «Срок действия продлен» №2 от (рег. ) «Срок действия продлен»
Описание стандарта
ГОСТ 21028-75 Кондукторы для механической обработки отверстий литейных опок и модельных плит. Технические условия
Страницы стандарта







