ГОСТы >
25.060.20 Делительные головки и зажимные приспособления для обрабатываемых деталей и инструментов >
ГОСТ 21054-75
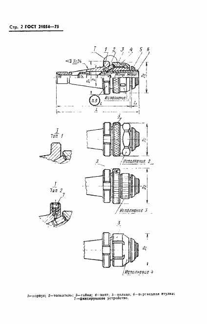
ГОСТ 21054-75 Патроны фрезерные для крепления инструмента с коническим хвостовиком. Конструкция и размеры
ГОСТ
Скачать ГОСТ в PDF или DOC бесплатно
Основная информация
Обозначение:
ГОСТ 21054-75
Статус:
Действует
Тип:
ГОСТ
Название русское:
Патроны фрезерные для крепления инструмента с коническим хвостовиком. Конструкция и размеры
Название английское:
Milling machine chucks for holding tapered shank tools. Design and dimensions
Даты и сроки
Дата издания:
04-01-82
Дата введения в действие:
01-01-77
Дата завершения срока действия:
-
Применение и описание
Область и условия применения:
Настоящий стандарт распространяется на патроны для бесшомпольного крепления концевого режущего и вспомогательного инструмента с коническим хвостовиком на фрезерных станках со шпинделями конусностью 7: 24
Связи и замены
Заменяющий:
-
Взамен:
МН 5553-64
Изменения и переиздания
Список изменений:
№1 от (рег. ) «Срок действия продлен»
Описание стандарта
ГОСТ 21054-75 Патроны фрезерные для крепления инструмента с коническим хвостовиком. Конструкция и размеры
Страницы стандарта

















