ГОСТы >
25.060.20 Делительные головки и зажимные приспособления для обрабатываемых деталей и инструментов >
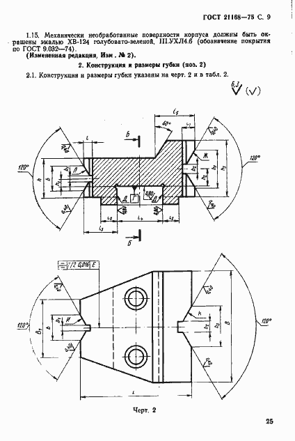
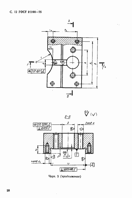
ГОСТ 21168-75
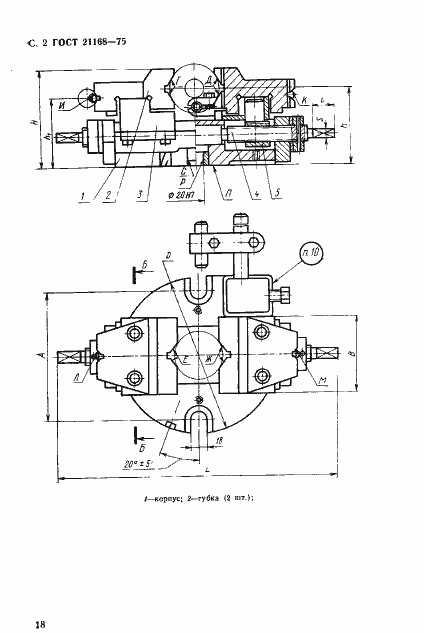
ГОСТ 21168-75 Тиски станочные винтовые самоцентрирующие с призматическими губками для круглых профилей. Конструкция и основные размеры
ГОСТ
Скачать ГОСТ в PDF или DOC бесплатно
Основная информация
Обозначение:
ГОСТ 21168-75
Статус:
Действует
Тип:
ГОСТ
Название русское:
Тиски станочные винтовые самоцентрирующие с призматическими губками для круглых профилей. Конструкция и основные размеры
Название английское:
Machine bar centering vices with screw and prismatic jaws. Design and main dimensions
Даты и сроки
Дата издания:
06-01-89
Дата введения в действие:
01-01-77
Дата завершения срока действия:
-
Применение и описание
Область и условия применения:
Настоящий стандарт распространяется на винтовые самоцентрирующие тиски с призматическими губками класса точности П, предназначенные для обработки деталей круглого профиля по 7-9 квалитетам по ГОСТ 25347-82 при выполнении станочных работ
Связи и замены
Заменяющий:
-
Взамен:
МН 5791-65
Изменения и переиздания
Список изменений:
№1 от (рег. ) «Срок действия продлен» №2 от (рег. ) «Срок действия продлен»
Описание стандарта
ГОСТ 21168-75 Тиски станочные винтовые самоцентрирующие с призматическими губками для круглых профилей. Конструкция и основные размеры
Страницы стандарта

















