ГОСТы >
25.060.20 Делительные головки и зажимные приспособления для обрабатываемых деталей и инструментов >
ГОСТ 21190-75
ГОСТ 21190-75 Люнеты роликовые к державкам для токарно-револьверных автоматов. Конструкция и размеры
ГОСТ
Скачать ГОСТ в PDF или DOC бесплатно
Основная информация
Обозначение:
ГОСТ 21190-75
Статус:
Действует
Тип:
ГОСТ
Название русское:
Люнеты роликовые к державкам для токарно-револьверных автоматов. Конструкция и размеры
Название английское:
Roll supports for automatic turret lathe holders. Design and dimensions
Даты и сроки
Дата издания:
04-01-82
Дата введения в действие:
01-01-77
Дата завершения срока действия:
-
Применение и описание
Область и условия применения:
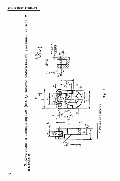
Настоящий стандарт распространяется на роликовые люнеты к державкам для токарно-револьверных автоматов
Связи и замены
Заменяющий:
-
Взамен:
МН 1202-60
Изменения и переиздания
Список изменений:
№1 от (рег. ) «Срок действия продлен»
Описание стандарта
ГОСТ 21190-75 Люнеты роликовые к державкам для токарно-револьверных автоматов. Конструкция и размеры
Страницы стандарта






