ГОСТы >
25.060.20 Делительные головки и зажимные приспособления для обрабатываемых деталей и инструментов >
ГОСТ 26540-85
ГОСТ 26540-85 Хвостовики цилиндрические для регулируемых втулок и оправок и стопорные гайки. Основные параметры
ГОСТ
Скачать ГОСТ в PDF или DOC бесплатно
Основная информация
Обозначение:
ГОСТ 26540-85
Статус:
Действует
Тип:
ГОСТ
Название русское:
Хвостовики цилиндрические для регулируемых втулок и оправок и стопорные гайки. Основные параметры
Название английское:
Straight shanrs for adjustable bushes and arbouas and locking nuts main characteristics
Даты и сроки
Дата издания:
07-03-85
Дата введения в действие:
01-01-86
Дата завершения срока действия:
-
Применение и описание
Область и условия применения:
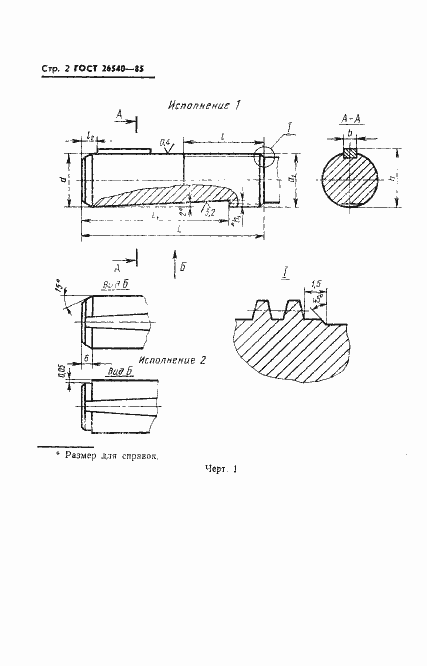
Настоящий стандарт распространяется на цилиндрические хвостовики для регулируемых втулок и оправок и стопорные гайки, применяемые на расточных, фрезерных станках с числовым программным управлением
Связи и замены
Заменяющий:
-
Описание стандарта
ГОСТ 26540-85 Хвостовики цилиндрические для регулируемых втулок и оправок и стопорные гайки. Основные параметры
Страницы стандарта






