ГОСТы >
25.060.20 Делительные головки и зажимные приспособления для обрабатываемых деталей и инструментов >
ГОСТ 31.1066.04-97
ГОСТ 31.1066.04-97 Приспособления к металлорежущим станкам. Оправки кулачковые. Общие технические условия
ГОСТ
Скачать ГОСТ в PDF или DOC бесплатно
Основная информация
Обозначение:
ГОСТ 31.1066.04-97
Статус:
Действует
Тип:
ГОСТ
Название русское:
Приспособления к металлорежущим станкам. Оправки кулачковые. Общие технические условия
Название английское:
Attachments for metal-cutting tools. Cam arbors. General specifications
Даты и сроки
Дата регистрации:
11-21-97
Дата издания:
11-01-05
Дата введения в действие:
01-01-99
Дата завершения срока действия:
-
Применение и описание
Область и условия применения:
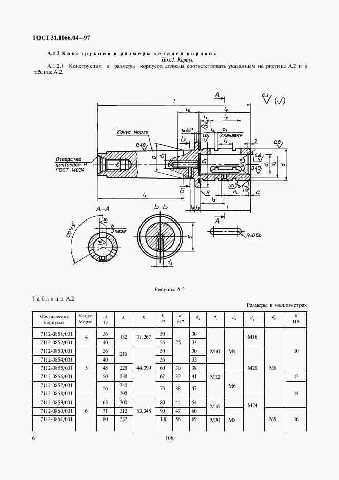
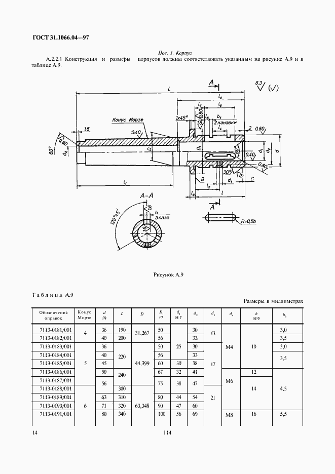
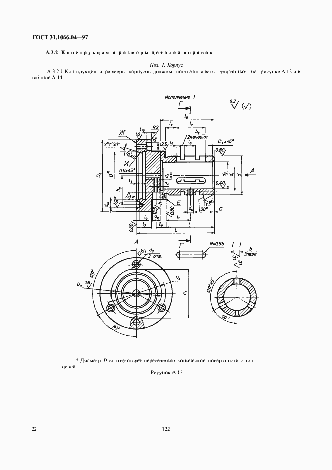
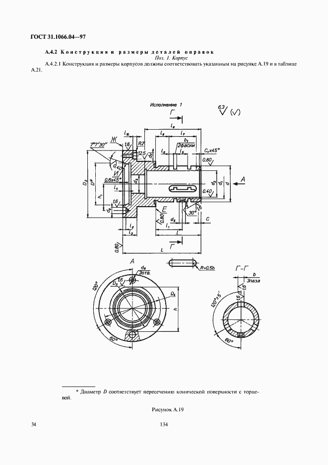
Настоящий стандарт распространяется на кулачковые шпиндельные оправки и кулачковые фланцевые оправки, предназначенные для установки и закрепления толстостенных заготовок при механической обработке на металлорежущих станках
Связи и замены
Заменяющий:
-
Взамен:
ГОСТ 17528-72;ГОСТ 17529-72;ГОСТ 17530-72;ГОСТ 17531-72
Описание стандарта
ГОСТ 31.1066.04-97 Приспособления к металлорежущим станкам. Оправки кулачковые. Общие технические условия
Страницы стандарта









































