ГОСТы >
25.060.20 Делительные головки и зажимные приспособления для обрабатываемых деталей и инструментов >
ГОСТ 3890-82
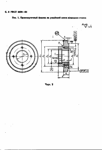
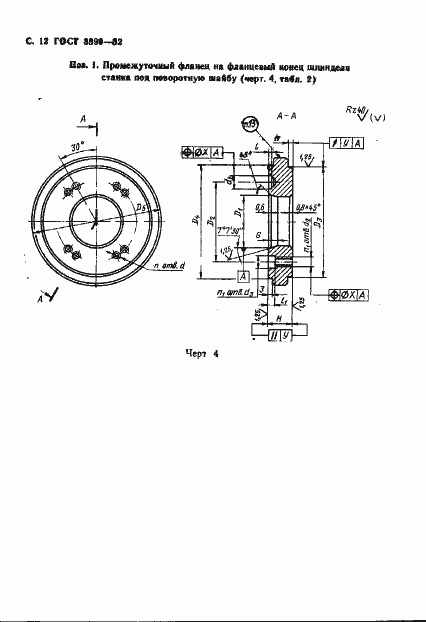
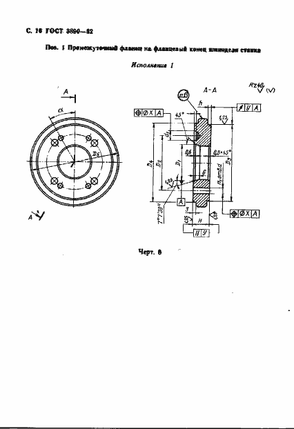
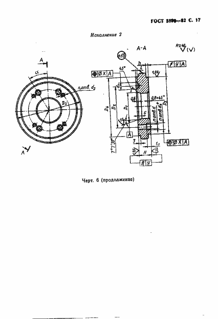
ГОСТ 3890-82 Патроны четырехкулачковые с независимым перемещением кулачков. Основные и присоединительные размеры
ГОСТ
Скачать ГОСТ в PDF или DOC бесплатно
Основная информация
Обозначение:
ГОСТ 3890-82
Статус:
Действует
Тип:
ГОСТ
Название русское:
Патроны четырехкулачковые с независимым перемещением кулачков. Основные и присоединительные размеры
Название английское:
Four-jawed independent chucks. Basic and coupling dimensions
Даты и сроки
Дата издания:
01-01-93
Дата введения в действие:
06-30-83
Дата завершения срока действия:
-
Применение и описание
Область и условия применения:
Настоящий стандарт распространяется на четырехкулачковые патроны классов точности Н, П, В и А с независимым перемещением кулачков, устанавливаемые на шпиндели станков.
Связи и замены
Заменяющий:
-
Взамен:
ГОСТ 3890-72
Изменения и переиздания
Список изменений:
№1 от (рег. ) «Срок действия продлен» №2 от (рег. ) «Срок действия продлен» №3 от (рег. ) «Срок действия продлен»
Описание стандарта
ГОСТ 3890-82 Патроны четырехкулачковые с независимым перемещением кулачков. Основные и присоединительные размеры
Страницы стандарта






















