ГОСТы >
25.060.20 Делительные головки и зажимные приспособления для обрабатываемых деталей и инструментов >
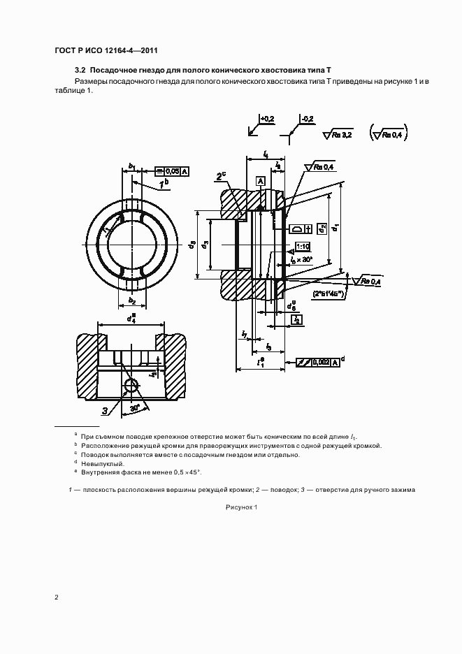
ГОСТ Р ИСО 12164-4-2011
ГОСТ Р ИСО 12164-4-2011 Крепление инструментов с полым коническим хвостовиком (HSK) типа Т. Присоединительные размеры
ГОСТ Р ИСО
Скачать ГОСТ в PDF или DOC бесплатно
Основная информация
Обозначение:
ГОСТ Р ИСО 12164-4-2011
Статус:
Действует
Тип:
ГОСТ Р ИСО
Название русское:
Крепление инструментов с полым коническим хвостовиком (HSK) типа Т. Присоединительные размеры
Название английское:
Tool receiver for type T hollow taper shanks (HSK). Connecting dimensions
Даты и сроки
Дата издания:
04-28-20
Дата введения в действие:
01-01-13
Дата завершения срока действия:
-
Применение и описание
Область и условия применения:
Настоящий стандарт распространяется на присоединительные размеры посадочного гнезда для крепления полых конических хвостовиков (HSK) с прилеганием по плоскости к торцу шпинделя токарных и обрабатывающих (фрезерно-расточных) центров. Настоящий стандарт устанавливает присоединительные размеры посадочного гнезда хвостовиков типа Т по ГОСТ Р ИСО 12164-2011 для автоматической смены инструмента через паз на фланце и для ручной смены инструмента через отверстие в конической части хвостовика. Крутящий момент передается посредством торцовой шпонки на конце хвостовика, а также - силой трения
Связи и замены
Заменяющий:
-
Описание стандарта
ГОСТ Р ИСО 12164-4-2011 Крепление инструментов с полым коническим хвостовиком (HSK) типа Т. Присоединительные размеры
Страницы стандарта











