ГОСТы >
25.060.20 Делительные головки и зажимные приспособления для обрабатываемых деталей и инструментов >
ГОСТ Р 50160-92
ГОСТ Р 50160-92 Втулки переходные с наружным конусом 7:24 и внутренним конусом Морзе с встроенным винтом. Размеры
ГОСТ Р
Скачать ГОСТ в PDF или DOC бесплатно
Основная информация
Обозначение:
ГОСТ Р 50160-92
Статус:
Отменен
Тип:
ГОСТ Р
Название русское:
Втулки переходные с наружным конусом 7:24 и внутренним конусом Морзе с встроенным винтом. Размеры
Название английское:
Reduction sleeves with 7/24 external and Morse internal taper and incorporated screw. Dimensions
Даты и сроки
Дата издания:
11-10-94
Дата введения в действие:
06-30-93
Дата завершения срока действия:
01-01-16
Применение и описание
Область и условия применения:
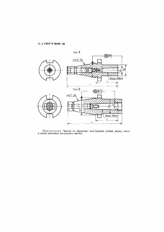
Настоящий стандарт устанавливает размеры переходных втулок с наружным конусом 7:24 № 30, 40, 45, 50, 60 и внутренним конусом Морзе № 1-6 (конус Морзе № 4, 5, 6 - втулки типа В с принудительным движением или втулки типа А - без принудительного движения). Втулки позволяют закрепить инструмент с коническим хвостовиком Морзе с резьбовым отверстием с помощью внутреннего винта
Связи и замены
Заменяющий:
-
Изменения и переиздания
Список изменений:
№0 от (рег. ) «Текстовое изменение; Изменено заглавие»
Описание стандарта
ГОСТ Р 50160-92 Втулки переходные с наружным конусом 7:24 и внутренним конусом Морзе с встроенным винтом. Размеры
Страницы стандарта




