ГОСТы >
25.060.20 Делительные головки и зажимные приспособления для обрабатываемых деталей и инструментов >
ГОСТ 17530-72
ГОСТ 17530-72 Оправки кулачковые фланцевые. Конструкция и размеры
ГОСТ
Скачать ГОСТ в PDF или DOC бесплатно
Основная информация
Обозначение:
ГОСТ 17530-72
Статус:
Заменен
Тип:
ГОСТ
Название русское:
Оправки кулачковые фланцевые. Конструкция и размеры
Название английское:
Flanged cam arbors. Design and dimensions
Даты и сроки
Дата издания:
04-12-72
Дата введения в действие:
01-01-74
Дата завершения срока действия:
01-01-99
Применение и описание
Область и условия применения:
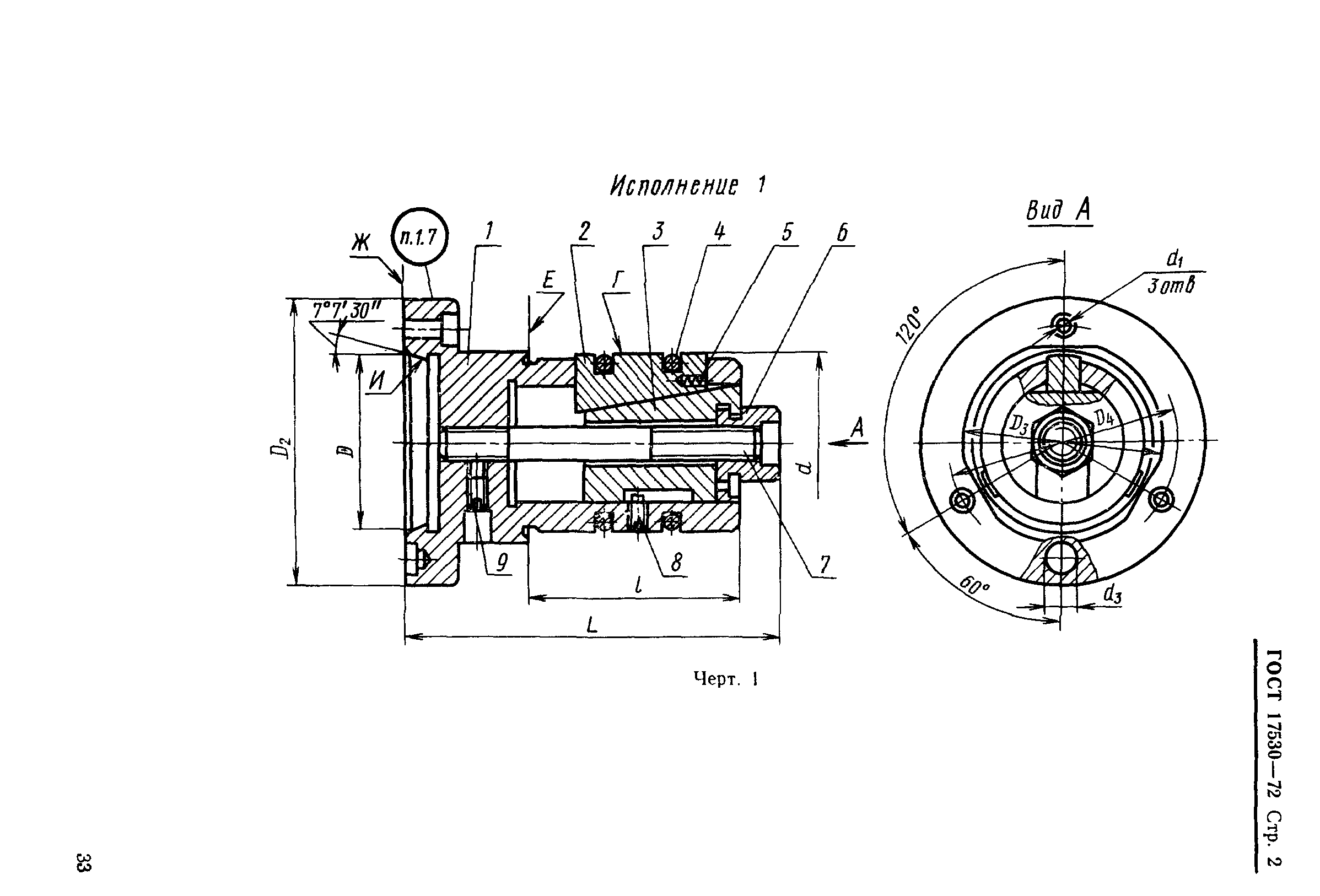
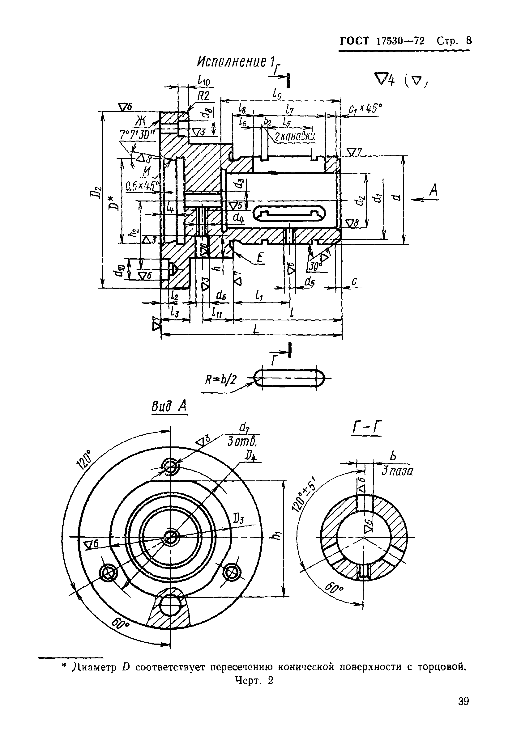
Настоящий стандарт распространяется на кулачковые фланцевые оправки, предназначенные для установки и закрепления толстостенных заготовок при механической обработке на токарных, круглошлифовальных и других станках. 1. Конструкция и размеры оправок 2. Конструкция и размеры корпусов (деталь 1) 3. Конструкция и размеры кулачков (деталь 2) 4. Конструкция и размеры втулок (деталь 3) 5. Конструкция и размеры пружинных колец (деталь 4) 6. Конструкция и размеры пружин (деталь 5)
Связи и замены
Заменяющий:
ГОСТ 31.1066.04-97
Взамен:
МН 5268-63
Изменения и переиздания
Список изменений:
№1 от (рег. ) «Срок действия продлен» №2 от (рег. ) «Срок действия продлен»
Описание стандарта
ГОСТ 17530-72 Оправки кулачковые фланцевые. Конструкция и размеры
Страницы стандарта

























