ГОСТ 2323-76 Концы шлифовальных шпинделей с наружным базирующим конусом. Присоединительные размеры
ГОСТ
Скачать ГОСТ в PDF или DOC бесплатно
Основная информация
Обозначение:
ГОСТ 2323-76
Статус:
Действует
Тип:
ГОСТ
Название русское:
Концы шлифовальных шпинделей с наружным базирующим конусом. Присоединительные размеры
Название английское:
Noses of grinding spindles with outside taper. Coupling dimensions
Даты и сроки
Дата издания:
03-01-86
Дата введения в действие:
01-01-78
Дата завершения срока действия:
-
Применение и описание
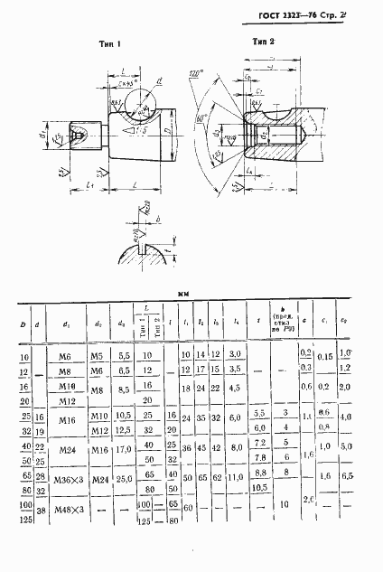
Область и условия применения:
Настоящий стандарт распространяется на концы шлифовальных шпинделей с наружным базирующим конусом для посадки фланцев шлифовального инструмента
Связи и замены
Заменяющий:
-
Взамен:
ГОСТ 2323-67
Изменения и переиздания
Список изменений:
№1 от (рег. ) «Срок действия продлен» №2 от (рег. ) «Срок действия продлен»
Описание стандарта
ГОСТ 2323-76 Концы шлифовальных шпинделей с наружным базирующим конусом. Присоединительные размеры
Страницы стандарта



