ГОСТ 11182-71 Развертки конические с цилиндрическим хвостовиком под конусы Морзе. Конструкция и размеры
ГОСТ
Скачать ГОСТ в PDF или DOC бесплатно
Основная информация
Обозначение:
ГОСТ 11182-71
Статус:
Действует
Тип:
ГОСТ
Название русское:
Развертки конические с цилиндрическим хвостовиком под конусы Морзе. Конструкция и размеры
Название английское:
Morse taper reamers with cylindrical shank. Design and dimensions
Даты и сроки
Дата издания:
11-01-97
Дата введения в действие:
06-30-72
Дата завершения срока действия:
-
Применение и описание
Область и условия применения:
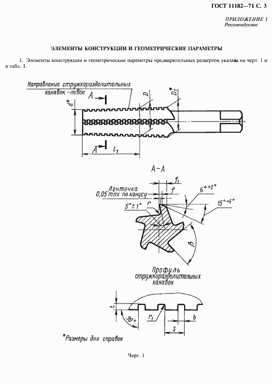
Настоящий стандарт распространяется на чистовые и предварительные конические развертки, предназначенные для обработки отверстий с конусом Морзе
Связи и замены
Заменяющий:
-
Взамен:
ГОСТ 11182-65
Взамен в части:
МН 56-58 в части разверток для конусов Морзе
Изменения и переиздания
Список изменений:
№1 от (рег. ) «Срок действия продлен» №2 от (рег. ) «Срок действия продлен»
Описание стандарта
ГОСТ 11182-71 Развертки конические с цилиндрическим хвостовиком под конусы Морзе. Конструкция и размеры
Страницы стандарта






