ГОСТ 11183-71 Развертки конические с цилиндрическим хвостовиком под метрические конусы. Конусность 1:20. Конструкция и размеры
ГОСТ
Скачать ГОСТ в PDF или DOC бесплатно
Основная информация
Обозначение:
ГОСТ 11183-71
Статус:
Действует
Тип:
ГОСТ
Название русское:
Развертки конические с цилиндрическим хвостовиком под метрические конусы. Конусность 1:20. Конструкция и размеры
Название английское:
Metric taper reamers with 1:20 with cylindrical shank. Design and dimensions
Даты и сроки
Дата издания:
11-01-97
Дата введения в действие:
06-30-72
Дата завершения срока действия:
-
Применение и описание
Область и условия применения:
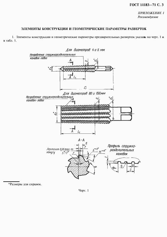
Настоящий стандарт распространяется на чистовые и предварительные конические развертки, предназначенные для обработки отверстий с метрическими конусами
Связи и замены
Заменяющий:
-
Взамен:
ГОСТ 11183-65
Взамен в части:
МН 56-58 в части разверток для метрических конусов
Изменения и переиздания
Список изменений:
№1 от (рег. ) «Срок действия продлен» №2 от (рег. ) «Срок действия продлен»
Описание стандарта
ГОСТ 11183-71 Развертки конические с цилиндрическим хвостовиком под метрические конусы. Конусность 1:20. Конструкция и размеры
Страницы стандарта






