ГОСТ 11902-77 Головки зуборезные для конических и гипоидных зубчатых колес с круговыми зубьями. Основные размеры
ГОСТ
Скачать ГОСТ в PDF или DOC бесплатно
Основная информация
Обозначение:
ГОСТ 11902-77
Статус:
Действует
Тип:
ГОСТ
Название русское:
Головки зуборезные для конических и гипоидных зубчатых колес с круговыми зубьями. Основные размеры
Название английское:
Spiral bevel and hypoid gear cutters. Basic dimensions
Даты и сроки
Дата издания:
11-01-84
Дата введения в действие:
01-01-79
Дата завершения срока действия:
-
Применение и описание
Область и условия применения:
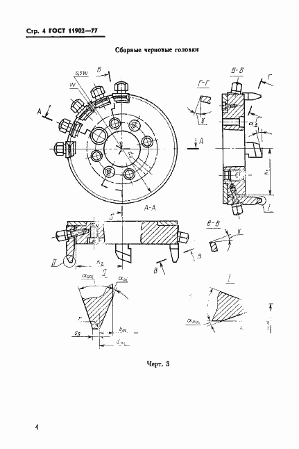
Настоящий стандарт распространяется на цельные зуборезные головки номинальными диаметрами от 20 до 80 мм и сборные головки номинальными диаметрами от 100 до 1000 мм для нарезания конических зубчатых колес с круговыми зубьями и исходным контуром, а также на сборные головки номинальными диаметрами от 160 до 500 мм с диапазонами углов профилей резцов: наружных от 10 до 26 град. и внутренних от 14 до 36 град. для нарезания гипоидных зубчатых колес
Связи и замены
Заменяющий:
-
Взамен:
ГОСТ 11902-66
Изменения и переиздания
Список изменений:
№1 от (рег. ) «Срок действия продлен»
Описание стандарта
ГОСТ 11902-77 Головки зуборезные для конических и гипоидных зубчатых колес с круговыми зубьями. Основные размеры
Страницы стандарта










