ГОСТ 16087-70 Развертки машинные цельные с коническим хвостовиком из твердого сплава. Типы и основные размеры
ГОСТ
Скачать ГОСТ в PDF или DOC бесплатно
Основная информация
Обозначение:
ГОСТ 16087-70
Статус:
Действует
Тип:
ГОСТ
Название русское:
Развертки машинные цельные с коническим хвостовиком из твердого сплава. Типы и основные размеры
Название английское:
Solid carbide machine reamers witch taper shank. Types and basic dimensions
Даты и сроки
Дата издания:
12-01-85
Дата введения в действие:
01-01-71
Дата завершения срока действия:
-
Применение и описание
Область и условия применения:
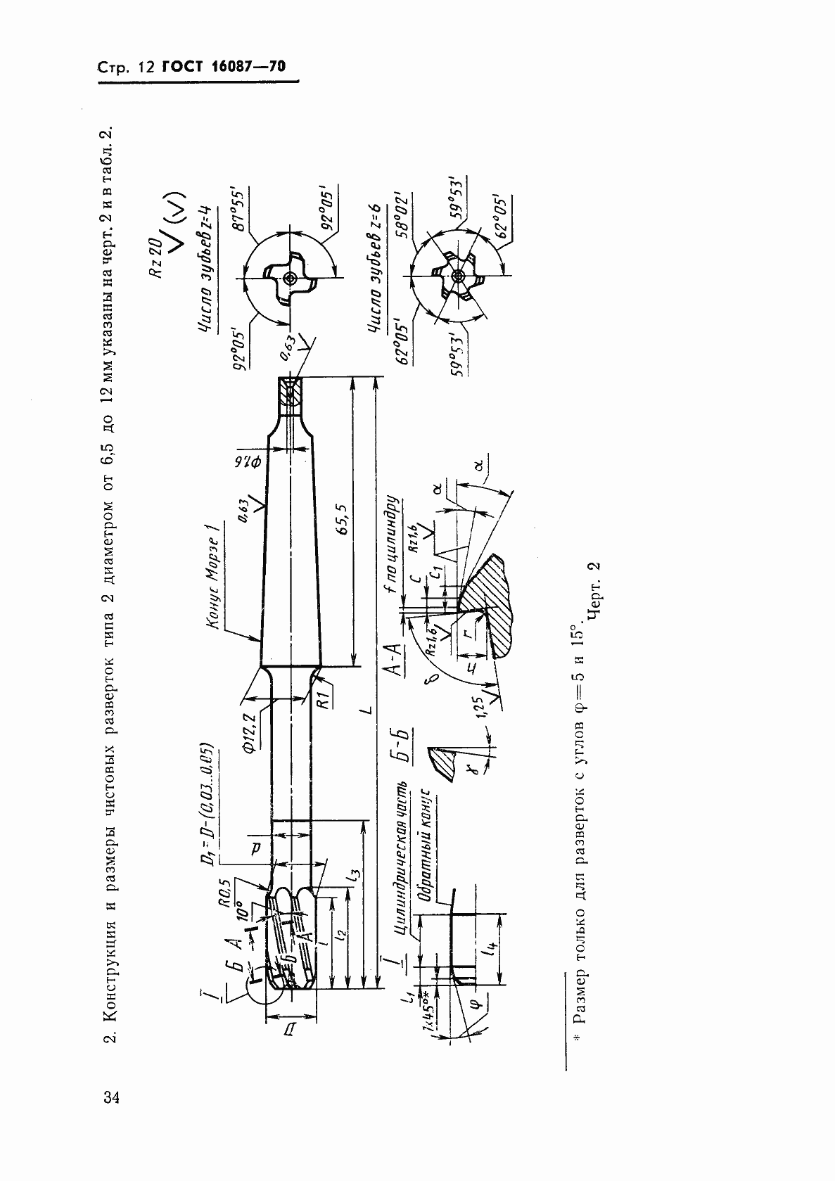
Настоящий стандарт распространяется на машинные цельные чистовые развертки с коническим хвостовиком из твердого сплава для обработки без кондукторных втулок отверстий с полями допусков Н7, К7, Н8, Н9 по СТ СЭВ 144-75 или с припуском под доводку от №1 до 6 в труднообрабатываемых материалах с сигмой В = 1600-2000 МПа (160-200 кгс/мм кв.) или пластмассах с абразивными наполнителями
Связи и замены
Заменяющий:
-
Изменения и переиздания
Список изменений:
№1 от (рег. ) «Срок действия продлен» №2 от (рег. ) «Срок действия продлен»
Описание стандарта
ГОСТ 16087-70 Развертки машинные цельные с коническим хвостовиком из твердого сплава. Типы и основные размеры
Страницы стандарта














