ГОСТ 1672-80 Развертки машинные цельные. Типы, параметры и размеры
ГОСТ
Скачать ГОСТ в PDF или DOC бесплатно
Основная информация
Обозначение:
ГОСТ 1672-80
Статус:
Заменен
Тип:
ГОСТ
Название русское:
Развертки машинные цельные. Типы, параметры и размеры
Название английское:
Solid machine reameres. Types, parameters and dimensions
Даты и сроки
Дата издания:
11-01-97
Дата введения в действие:
01-01-82
Дата завершения срока действия:
01-01-18
Применение и описание
Область и условия применения:
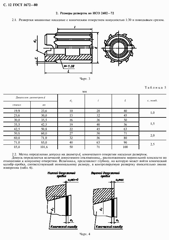
Настоящий стандарт распространяется на машинные цельные развертки: чистовые - для обработки отверстий с полями допусков G6, H6, Js6, K6, G7, H7, Js7, K7, M7, N7, P7, E8, U8, F8, H8, D9, E9, F9, H9, H10, H11; с припуском под доводку - № 1, 2, 3, 4, 5, 6
Связи и замены
Заменяющий:
ГОСТ 1672-2016
Взамен:
ГОСТ 1672-71
Изменения и переиздания
Список изменений:
№0 от (рег. ) «Дата введения перенесена» №1 от (рег. ) «Поправка» №2 от (рег. ) «Срок действия продлен»
Описание стандарта
ГОСТ 1672-80 Развертки машинные цельные. Типы, параметры и размеры
Страницы стандарта
















Приложение №3: Поправка к ГОСТ 1672-80 Обозначение: Поправка к ГОСТ 1672-80 Дата введения в действие: 10.07.2002
