ГОСТ 18841-73 Метчики бесстружечные гаечные с изогнутым хвостовиком. Конструкция и размеры
ГОСТ
Скачать ГОСТ в PDF или DOC бесплатно
Основная информация
Обозначение:
ГОСТ 18841-73
Статус:
Действует
Тип:
ГОСТ
Название русское:
Метчики бесстружечные гаечные с изогнутым хвостовиком. Конструкция и размеры
Название английское:
Nut non-shaving taps with curved shanks. Design and dimensions
Даты и сроки
Дата издания:
03-01-87
Дата введения в действие:
06-30-74
Дата завершения срока действия:
-
Применение и описание
Область и условия применения:
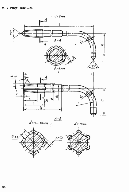
Настоящий стандарт распространяется на бесстружечные метчики гаечные с изогнутым хвостовиком, предназначенные для получения метрических резьб по ГОСТ 24705-81 в гайках методом пластической деформации.
Связи и замены
Заменяющий:
-
Изменения и переиздания
Список изменений:
№1 от (рег. ) «Срок действия продлен»
Описание стандарта
ГОСТ 18841-73 Метчики бесстружечные гаечные с изогнутым хвостовиком. Конструкция и размеры
Страницы стандарта







