ГОСТ 18946-73 Фрезы концевые сфероцилиндрические, оснащенные коронками из твердого сплава, для труднообрабатываемых сталей и сплавов. Конструкция и размеры
ГОСТ
Скачать ГОСТ в PDF или DOC бесплатно
Основная информация
Обозначение:
ГОСТ 18946-73
Статус:
Утратил силу в РФ
Тип:
ГОСТ
Название русское:
Фрезы концевые сфероцилиндрические, оснащенные коронками из твердого сплава, для труднообрабатываемых сталей и сплавов. Конструкция и размеры
Название английское:
Spherical cylindrical end milling cutters with carbide bits for cutting hardworking steels and alloys. Design and dimensions
Даты и сроки
Дата издания:
08-01-93
Дата введения в действие:
01-01-75
Дата завершения срока действия:
01-01-09
Применение и описание
Область и условия применения:
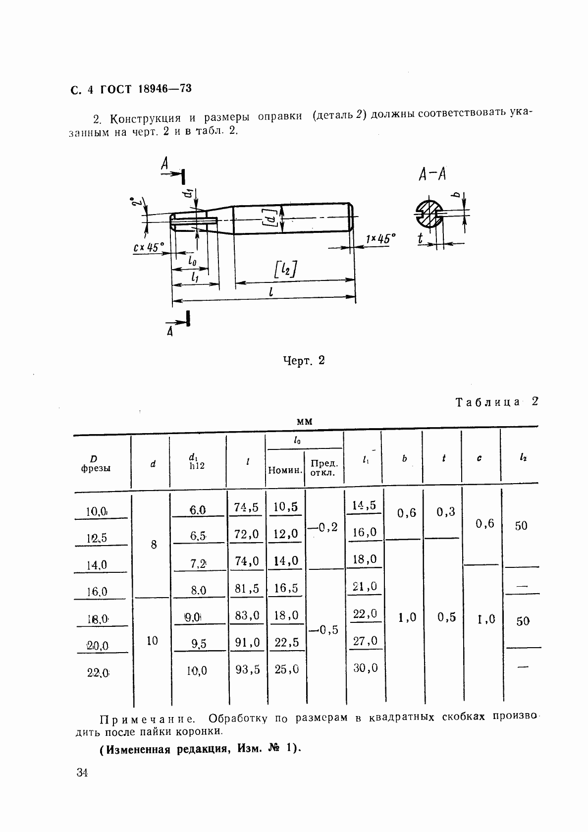
Настоящий стандарт распространяется на фрезы концевые сфероцилиндрические, оснащенные коронками из твердого сплава, для труднообрабатываемых сталей и сплавов на их конструкции и размеры. Фрезы должны изготовляться двух исполнений: 1 - фрезы обычного исполнения; 2 - фрезы с торцовым зубом
Связи и замены
Заменяющий:
-
Изменения и переиздания
Список изменений:
№0 от (рег. ) «Поправка к изменению» №1 от (рег. ) «Срок действия продлен»
Описание стандарта
ГОСТ 18946-73 Фрезы концевые сфероцилиндрические, оснащенные коронками из твердого сплава, для труднообрабатываемых сталей и сплавов. Конструкция и размеры
Страницы стандарта



