ГОСТ 19879-74 Метчики машинные для трубной цилиндрической резьбы, оснащенные твердосплавными пластинами. Технические условия
ГОСТ
Скачать ГОСТ в PDF или DOC бесплатно
Основная информация
Обозначение:
ГОСТ 19879-74
Статус:
Действует
Тип:
ГОСТ
Название русское:
Метчики машинные для трубной цилиндрической резьбы, оснащенные твердосплавными пластинами. Технические условия
Название английское:
Carbide tipped machine taps for pipe cylindrical thread. Specifications
Даты и сроки
Дата издания:
08-01-87
Дата введения в действие:
01-01-76
Дата завершения срока действия:
-
Применение и описание
Область и условия применения:
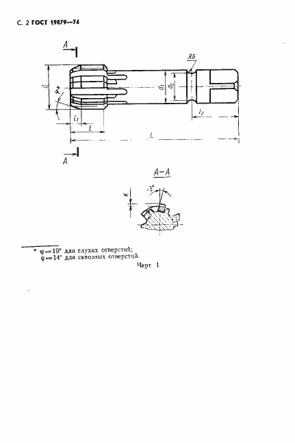
Настоящий стандарт распространяется на одинарные машинные метчики, оснащенные твердосплавными пластинами, предназначенные для нарезания трубных цилиндрических резьб по ГОСТ 6357-81 в сквозных и глухих отверстиях деталей из чугуна твердостью до НВ 300
Связи и замены
Заменяющий:
-
Изменения и переиздания
Список изменений:
№1 от (рег. ) «Поправка»
Описание стандарта
ГОСТ 19879-74 Метчики машинные для трубной цилиндрической резьбы, оснащенные твердосплавными пластинами. Технические условия
Страницы стандарта












