ГОСТ 20321-74 Фрезы дисковые со вставными ножами, оснащенные твердосплавными пластинами, для разрезки пластмасс типов гетинакс, текстолит и стеклопластиков. Конструкция и размеры
ГОСТ
Скачать ГОСТ в PDF или DOC бесплатно
Основная информация
Обозначение:
ГОСТ 20321-74
Статус:
Действует
Тип:
ГОСТ
Название русское:
Фрезы дисковые со вставными ножами, оснащенные твердосплавными пластинами, для разрезки пластмасс типов гетинакс, текстолит и стеклопластиков. Конструкция и размеры
Название английское:
Disk type milling cutters with inserted carbide blades for cutting plastics micarta, textolite and glass plastics types. Construction and dimensions
Даты и сроки
Дата издания:
12-01-87
Дата введения в действие:
01-01-76
Дата завершения срока действия:
-
Применение и описание
Область и условия применения:
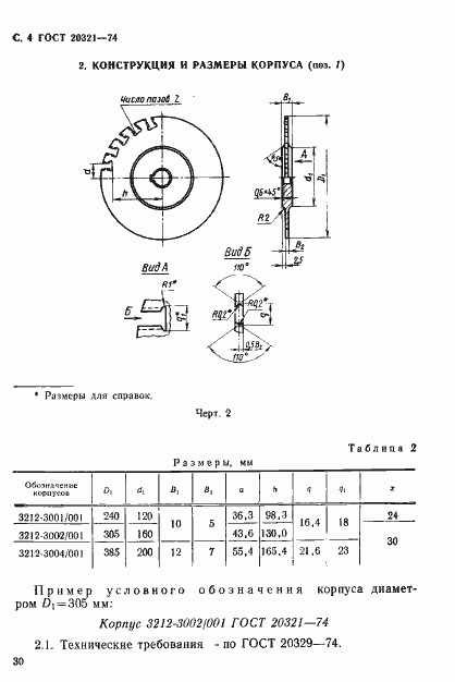
Настоящий стандарт распространяется на дисковые фрезы со вставными ножами, оснащенными твердосплавными пластинами, диаметром от 250 до 400 мм, предназначенные для разрезки пластмасс типов гетинакс, текстолит и стеклопластиков на основе стеклотканей, стекловолокна и асботекстолита
Связи и замены
Заменяющий:
-
Взамен:
МН 3644-62
Изменения и переиздания
Список изменений:
№1 от (рег. ) «Срок действия продлен»
Описание стандарта
ГОСТ 20321-74 Фрезы дисковые со вставными ножами, оснащенные твердосплавными пластинами, для разрезки пластмасс типов гетинакс, текстолит и стеклопластиков. Конструкция и размеры
Страницы стандарта



