ГОСТ 20534-75 Фрезы концевые с коническим хвостовиком, оснащенные твердосплавными коронками. Конструкция и размеры
ГОСТ
Скачать ГОСТ в PDF или DOC бесплатно
Основная информация
Обозначение:
ГОСТ 20534-75
Статус:
Действует
Тип:
ГОСТ
Название русское:
Фрезы концевые с коническим хвостовиком, оснащенные твердосплавными коронками. Конструкция и размеры
Название английское:
Taper shank end mills with solid carbide tips. Construction and dimensions
Даты и сроки
Дата издания:
01-01-95
Дата введения в действие:
01-01-77
Дата завершения срока действия:
-
Применение и описание
Область и условия применения:
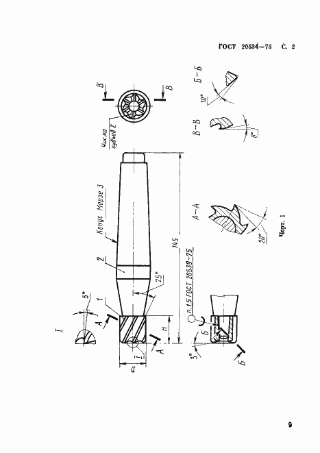
Настоящий стандарт распространяется на концевые фрезы, оснащенные твердосплавными коронками, диаметром от 10 до 22 мм, предназначенные для обработки легированной и углеродистой стали, чугуна и бронзы
Связи и замены
Заменяющий:
-
Взамен:
МН 4169-62
Взамен в части:
ГОСТ 8720-69 в части типа 1
Изменения и переиздания
Список изменений:
№1 от (рег. ) «Срок действия продлен» №2 от (рег. ) «Срок действия продлен»
Описание стандарта
ГОСТ 20534-75 Фрезы концевые с коническим хвостовиком, оснащенные твердосплавными коронками. Конструкция и размеры
Страницы стандарта





