ГОСТ 20536-75 Фрезы концевые диаметром от 10 до 20 мм с цилиндрическим хвостовиком, оснащенные винтовыми твердосплавными пластинами. Конструкция и размеры
ГОСТ
Скачать ГОСТ в PDF или DOC бесплатно
Основная информация
Обозначение:
ГОСТ 20536-75
Статус:
Утратил силу в РФ
Тип:
ГОСТ
Название русское:
Фрезы концевые диаметром от 10 до 20 мм с цилиндрическим хвостовиком, оснащенные винтовыми твердосплавными пластинами. Конструкция и размеры
Название английское:
Pintle end mills of 10-20 mm diameter with spiral carbide blades. Construction and dimensions
Даты и сроки
Дата издания:
01-01-95
Дата введения в действие:
01-01-77
Дата завершения срока действия:
01-01-11
Применение и описание
Область и условия применения:
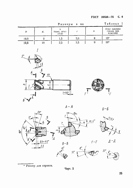
Настоящий стандарт распространяется на концевые фрезы, оснащенные винтовыми твердосплавными пластинами, предназначенные для обработки стали, чугуна и бронзы, а также труднообрабатываемых сталей и сплавов
Связи и замены
Заменяющий:
-
Взамен:
МН 4162-62;МН 4163-62
Изменения и переиздания
Список изменений:
№0 от (рег. ) «Поправка к изменению» №1 от (рег. ) «Срок действия продлен» №2 от (рег. ) «Срок действия продлен»
Описание стандарта
ГОСТ 20536-75 Фрезы концевые диаметром от 10 до 20 мм с цилиндрическим хвостовиком, оснащенные винтовыми твердосплавными пластинами. Конструкция и размеры
Страницы стандарта






