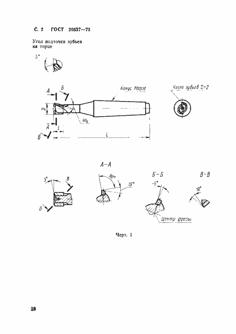
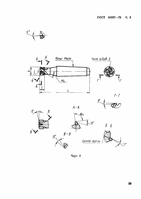
ГОСТ 20537-75 Фрезы концевые диаметром от 12,5 до 50 мм с коническим хвостовиком, оснащенные винтовыми твердосплавными пластинами. Конструкция и размеры
ГОСТ
Скачать ГОСТ в PDF или DOC бесплатно
Основная информация
Обозначение:
ГОСТ 20537-75
Статус:
Действует
Тип:
ГОСТ
Название русское:
Фрезы концевые диаметром от 12,5 до 50 мм с коническим хвостовиком, оснащенные винтовыми твердосплавными пластинами. Конструкция и размеры
Название английское:
Taper shank end mills of 12,5-50 mm diameter with spiral carbide blades. Construction and dimensions
Даты и сроки
Дата издания:
01-01-95
Дата введения в действие:
01-01-77
Дата завершения срока действия:
-
Применение и описание
Область и условия применения:
Настоящий стандарт распространяется на концевые фрезы, оснащенные винтовыми твердосплавными пластинами, предназначенные для обработки стали, чугуна и бронзы, а также труднообрабатываемых сталей и сплавов
Связи и замены
Заменяющий:
-
Взамен:
МН 4164-62
Взамен в части:
ГОСТ 8720-69 в части типа 2 исполнения 1
Изменения и переиздания
Список изменений:
№1 от (рег. ) «Срок действия продлен» №2 от (рег. ) «Срок действия продлен»
Описание стандарта
ГОСТ 20537-75 Фрезы концевые диаметром от 12,5 до 50 мм с коническим хвостовиком, оснащенные винтовыми твердосплавными пластинами. Конструкция и размеры
Страницы стандарта






