ГОСТ 22394-77 Воротки для круглых плашек диаметрами 16 и 20 мм. Типы и основные размеры
ГОСТ
Скачать ГОСТ в PDF или DOC бесплатно
Основная информация
Обозначение:
ГОСТ 22394-77
Статус:
Действует
Тип:
ГОСТ
Название русское:
Воротки для круглых плашек диаметрами 16 и 20 мм. Типы и основные размеры
Название английское:
Stocks for round dies diameters 16 and 20 mm. Types and basic dimensions
Даты и сроки
Дата издания:
06-06-77
Дата введения в действие:
01-01-79
Дата завершения срока действия:
-
Применение и описание
Область и условия применения:
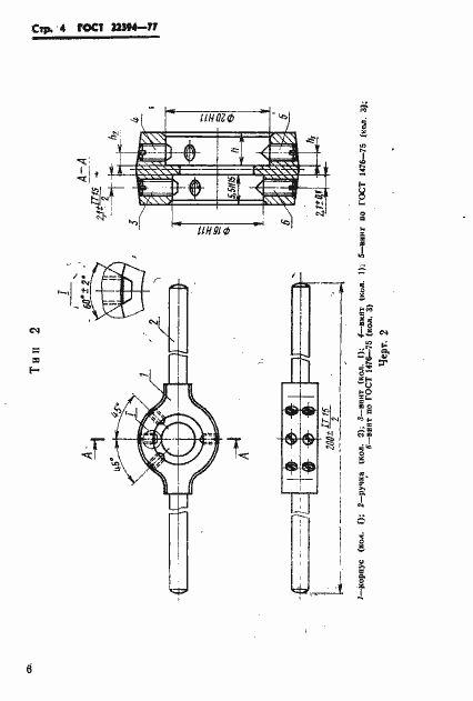
Настоящий стандарт распространяется на воротки для круглых плашек типа 2 по ГОСТ 9740-71 с наружными диаметрами 16 и 20 мм
Связи и замены
Заменяющий:
-
Взамен:
МН 522-60
Описание стандарта
ГОСТ 22394-77 Воротки для круглых плашек диаметрами 16 и 20 мм. Типы и основные размеры
Страницы стандарта











