ГОСТ 23461-84 Надфили алмазные. Технические условия
ГОСТ
Скачать ГОСТ в PDF или DOC бесплатно
Основная информация
Обозначение:
ГОСТ 23461-84
Статус:
Действует
Тип:
ГОСТ
Название русское:
Надфили алмазные. Технические условия
Название английское:
Diamond needle files. Specifications
Даты и сроки
Дата издания:
12-01-85
Дата введения в действие:
06-30-85
Дата завершения срока действия:
-
Применение и описание
Область и условия применения:
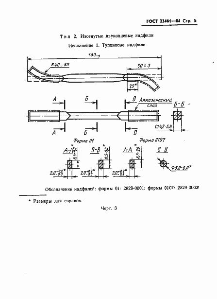
Настоящий стандарт распространяется на алмазные надфили для ручной обработки изделий из твердого сплава, закаленных сталей, керамики и других труднообрабатываемых материалов, изготовляемых для нужд народного хозяйства и экспорта
Связи и замены
Заменяющий:
-
Взамен:
ГОСТ 23461-79
Изменения и переиздания
Список изменений:
№1 от (рег. ) «Срок действия продлен» №2 от (рег. ) «Срок действия продлен»
Описание стандарта
ГОСТ 23461-84 Надфили алмазные. Технические условия
Страницы стандарта












